
De TMS320C6421ZWT5 is een krachtige digitale signaalprocessor (DSP) ontwikkeld door Texas Instruments als onderdeel van zijn TMS320C64X+ -familie.Gebouwd op de Velociti.2 VLIW-architectuur, levert dit apparaat krachtige verwerkingsprestaties van vaste punten op die zijn ontworpen voor intensieve signaalbehandeling in moderne ingebedde systemen.Met kloksnelheden die tot 500 MHz bereiken, is het in staat om meerdere instructies per cyclus uit te voeren, waardoor het geschikt is voor een breed scala aan geavanceerde verwerkingstaken.De C6421-serie behoort tot het bredere TMS320C6000 DSP-platform, richt de focus van Texas Instruments op schaalbare en code-compatibele oplossingen.Als onderdeel van een bewezen familie van processors die wereldwijd vertrouwd zijn, biedt de TMS320C6421ZWT5 een betrouwbare basis voor langetermijnontwerpen.
Op zoek naar TMS320C6421ZWT5?Neem contact met ons op om de huidige voorraad, doorlooptijd en prijzen te controleren.

TMS320C6421ZWT5 -symbool

TMS320C6421ZWT5 voetafdruk

TMS320C6421ZWT5 3D -model
• Krachtige DSP-kern
Het apparaat wordt aangedreven door de Velociti.2 ™ VLIW -kern, in staat om maximaal acht instructies in een enkele cyclus uit te voeren.Deze architectuur maakt een zeer hoge doorvoer mogelijk, waardoor het ideaal is voor complexe signaalverwerkingstaken.
• Efficiënte vermenigvuldigers en alus
Het integreert zes rekenkundige logica -eenheden (ALUS) en twee krachtige vermenigvuldigers, die tegelijkertijd meerdere bewerkingen kunnen verwerken.Dit ontwerp ondersteunt intensieve wiskundige bewerkingen zoals filteren, modulatie en codering.
• Flexibel on-chip geheugen
De processor omvat 16 KB -programmacache, 48 KB datacache en 64 kb unified L2 -geheugen.Deze interne bronnen verminderen de latentie en ondersteunen snellere uitvoering van applicaties.
• DDR2- en Flash -geheugeninterfaces
De chip heeft een 16-bit DDR2 SDRAM-controller en een 8-bit asynchrone EMIF voor extern geheugen zoals NOR en NAND Flash.Met deze flexibiliteit kan het geheugen voor grotere toepassingen uitbreiden.
• Veelzijdige perifere ondersteuning
Het biedt een breed scala aan interfaces, waaronder UART, I²C, MCBSP, MCASP met SPDIF en een 16-bit hostpoortinterface.Deze maken de processor zeer aanpasbaar voor telecom-, audio- en industriële systemen.
• Verbeterde DMA -controller (EDMA)
Een 64-kanaals verbeterde DMA-controller ondersteunt snelle gegevensoverdracht tussen geheugen en randapparatuur.Dit vermindert de CPU -belasting en verbetert de algehele systeemprestaties.
• Netwerken en connectiviteit
De chip integreert een 10/100 Ethernet Mac met MII/RMII -ondersteuning en een VLYNQ -interface voor externe connectiviteit.Deze functies maken het geschikt voor ingebedde applicaties met netwerk-ingebed.
• Rijke algemene I/O
Met maximaal 111 multiplex GPIO -pinnen en drie PWM -uitgangen biedt de DSP een uitstekende flexibiliteit voor systeembesturing en aangepaste interface.Dit zorgt voor eenvoudige integratie in een breed scala aan hardware -ontwerpen.
• Lage spanningsbewerking
Het werkt met een kernspanning van 1,05 V of 1,2 V en I/O -niveaus van 1,8 V of 3,3 V. Deze balans tussen vermogensefficiëntie en flexibiliteit maakt het betrouwbaar voor ingebedde ontwerpen.

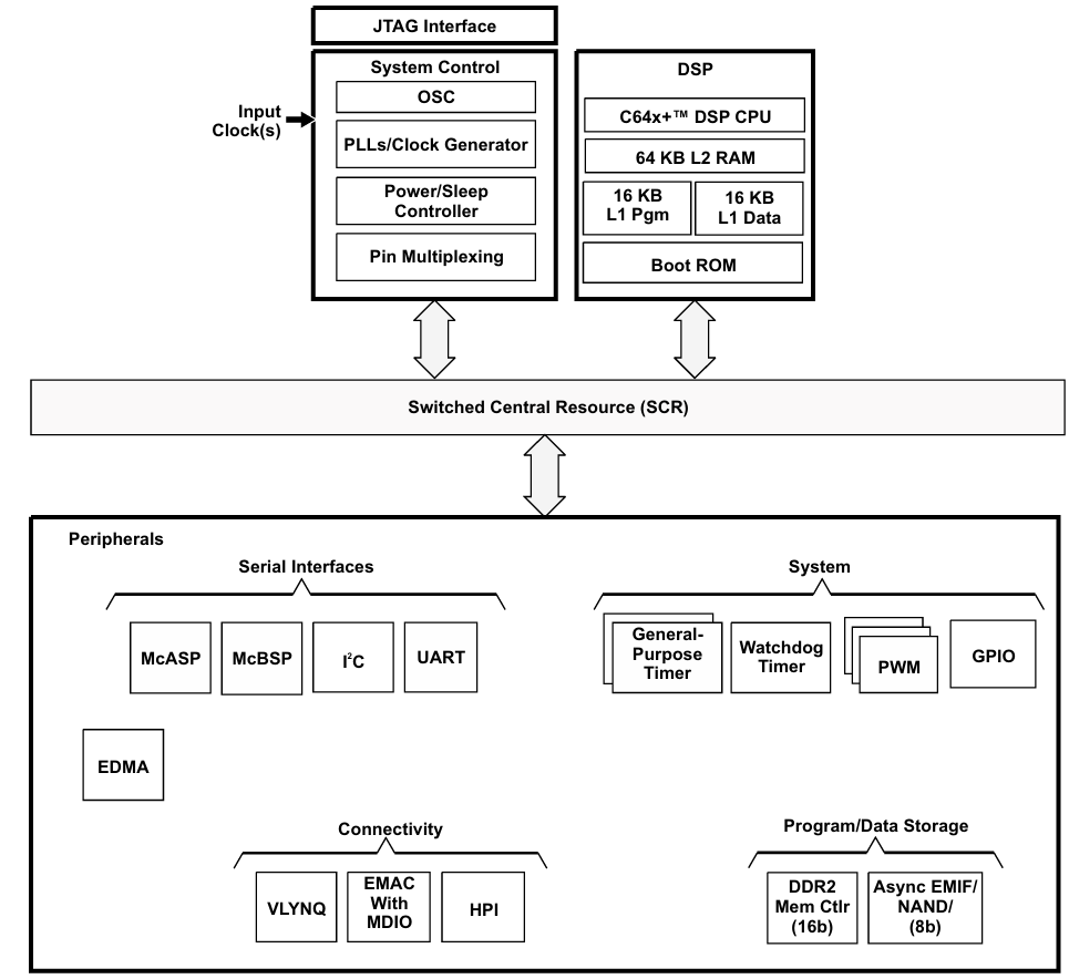
Het functionele blokdiagram van TMS320C6421ZWT5 benadrukt hoe de processor zijn kern-, geheugen- en randapparatuur combineert om samen te werken.In het midden bevindt zich de C64X+ DSP CPU met L1- en L2 -geheugen plus opstart ROM, die zorgt voor snelle gegevenstoegang en snel opstarten.Systeembesturingsblokken zoals oscillatoren, PLLS en stroombeheerhandgreep klokgeneratie, modi met laag vermogen en signaalroutering.
Alle onderdelen zijn gekoppeld via de Switched Central Resource (SCR), die werkt als de hoofdbus voor gegevensstroom.De processor omvat seriële interfaces zoals UART, I²C, MCBSP en MCASP, ondersteund door een krachtige EDMA-controller voor high-speed gegevensoverdracht.Het bevat ook timers, waakhondfuncties, PWM en GPIO voor algemene systeembesturing.
Voor connectiviteit biedt het apparaat Ethernet Mac met MDIO, VLYNQ en een hostpoortinterface, waardoor het flexibel is voor netwerken en externe communicatie.Geheugenuitbreiding wordt ondersteund via een DDR2 -geheugencontroller en een asynchrone EMIF voor NAND of NOR NORFLIEND.Samen laten deze blokken zien hoe de chip is gebouwd om intensieve verwerking te verwerken met efficiënt geheugen en brede connectiviteitsopties.

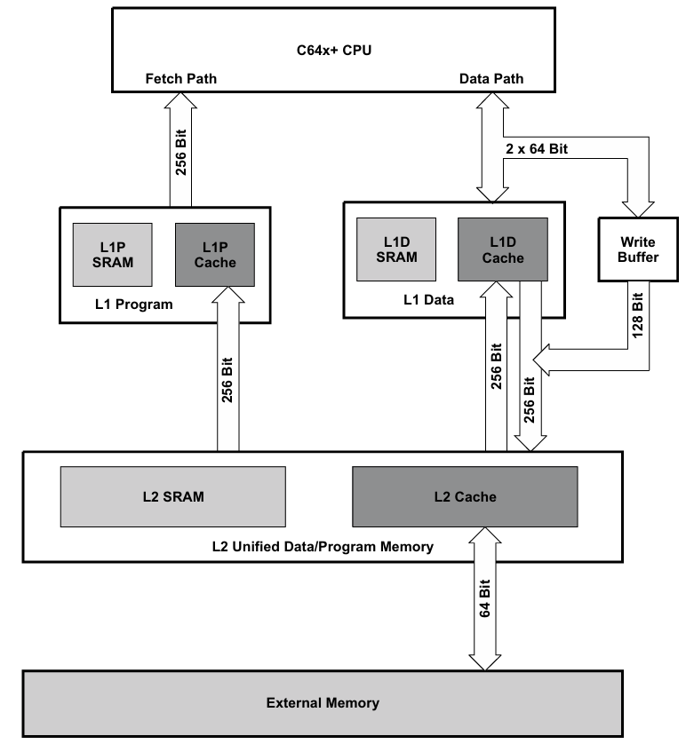
De C64X+ Cache -geheugenarchitectuur in de TMS320C6421ZWT5 is gebouwd om de CPU snelle toegang te geven tot instructies en gegevens.Het begint met L1 -geheugen, dat is opgesplitst in twee delen: L1 -programma (L1P) voor instructies en L1 -gegevens (L1D) voor gegevens.Beide omvatten SRAM en Cache, verbonden met de CPU met brede 256-bits paden voor hogesnelheidsoverdrachten.
Daarachter werkt het L2 -geheugen als een grotere, uniforme ruimte voor zowel gegevens als programma's.Het heeft SRAM en cache en maakt verbinding met extern geheugen via een 64-bit bus.Een schrijfbuffer helpt bij het versnellen van gegevensopslag door te hanteren op de achtergrond.Dit gelaagde ontwerp bewaart vaak gebruikte gegevens dicht bij de CPU en biedt nog steeds toegang tot een groter extern geheugen wanneer dat nodig is.

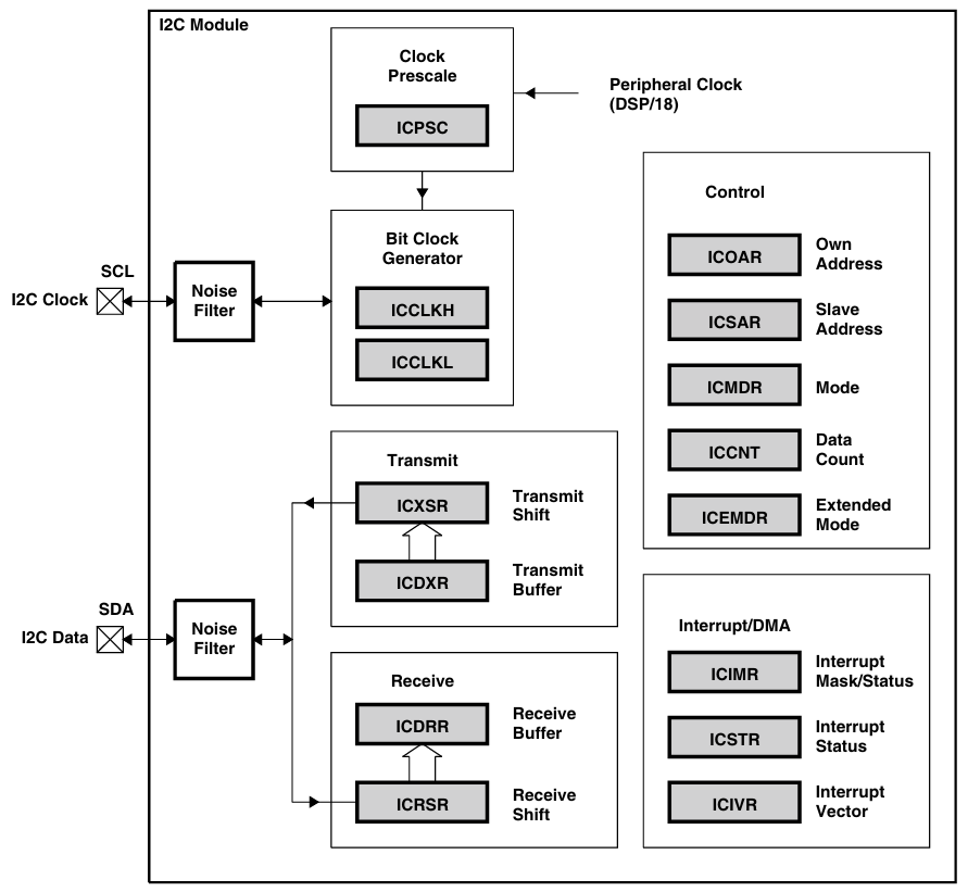
De I²C -module in de TMS320C6421ZWT5 regelt communicatie via de twee I²C -lijnen, SCL voor klok en SDA voor gegevens.Beide signalen gaan door geluidsfilters om de overdracht stabiel te houden.Een klokprescaler en bit -klokgenerator stellen de juiste snelheid in voor communicatie.
De module heeft afzonderlijke paden voor het verzenden en ontvangen van gegevens.Het zendblok bevat gegevens in een buffer voordat u deze verzendt, terwijl het ontvangstblok inkomende gegevens opslaat voordat u deze aan de CPU doorgegeven.Een besturingseenheid beheert adressen, modi en gegevenstellingen zodat het apparaat kan werken als master of slave.
Het omvat ook interrupt- en DMA -ondersteuning, die helpen bij het automatisch verwerken van gegevensoverdracht zonder de CPU nodig te hebben om constant te controleren.Dit maakt de I²C -interface betrouwbaar en efficiënt voor het aansluiten van de DSP met externe apparaten.
|
Type |
Parameter |
|
Fabrikant |
Texas instrumenten |
|
Serie |
TMS320C642X |
|
Verpakking |
Dienblad |
|
Onderdeelstatus |
Actief |
|
Type |
Vaste punt |
|
Interface |
HPI, I2C, MCASP, MCBSP, UART, 10/100 Ethernet Mac |
|
Kloksnelheid |
500 MHz |
|
Niet-vluchtig geheugen |
ROM (64 kb) |
|
On-chip ram |
96 kb |
|
Spanning - I/O |
1.8 V, 3,3 V |
|
Spanning - kern |
1.05 V, 1.20 V |
|
Bedrijfstemperatuur |
0 ° C ~ 90 ° C (TJ) |
|
Montagetype |
Oppervlaktemontage |
|
Pakket / kast |
361-lfbga |
|
Leverancierapparaatpakket |
361-NFBGA (16 × 16) |
|
Base Productnummer |
TMS320 |
1. Telecom- en draadloze systemen
De TMS320C6421ZWT5 wordt veel gebruikt in telecominfrastructuur en draadloze apparaten vanwege het hoge snelheidssignaalverwerkingsvermogen.Het behandelt taken zoals modulatie, demodulatie en kanaalcodering, die goed zijn in basisstations, gateways en breedbandapparatuur.Met zijn geïntegreerde Ethernet Mac- en DDR2 -ondersteuning biedt het zowel connectiviteit als de geheugenbandbreedte die nodig is voor communicatie.
2. Audio- en signaalverwerking
Deze DSP is goed geschikt voor audiosystemen die een krachtige berekening en verwerking met lage latentie vereisen.Het kan multichannel spraakcodecs uitvoeren, ruisonderdrukking uitvoeren en audio -effecten op tijd afhandelen.Interfaces zoals MCBSP en MCASP maken het gemakkelijk om verbinding te maken met audioapparatuur, waardoor betrouwbare en hoogwaardige geluidsprestaties worden gewaarborgd.
3. Beeldvorming en videotoepassingen
De C6421 kan ook worden toegepast op beeldvorming en videotaken die snelle gegevensverwerking vereisen.De DSP -kern stelt het in staat om compressie-, decompressie- en verbeteringsfuncties voor camera's, bewakingssystemen en ingebedde visie -apparaten te ondersteunen.Door gebruik te maken van zijn parallelle uitvoeringsmogelijkheden, maakt het een efficiënte afhandeling van beeld- en videostreams mogelijk.
4. Industriële en ingebedde controle
In industriële en kantoorautomatisering wordt het apparaat gewaardeerd voor de integratie van timers, GPIOS, PWM en DMA, die een strakke systeembesturing bieden.Het wordt gebruikt in toepassingen zoals printers, scanners, motorcontrollers en ingebedde automatiseringseenheden.De efficiënte vermogensmodi en hoge snelheid verwerking helpen bij het leveren van betrouwbare prestaties en houden het energieverbruik laag.
|
Specificatie |
TMS320C6421ZWT5 |
TMS320C6421ZDU5 |
TMS320C6421ZDU4 |
TMS320C6421ZWTQ5 |
TMS320C6424 |
|
Kernarchitectuur |
C64X+ Velociti.2 Vliw DSP |
C64X+ Velociti.2 Vliw DSP |
C64X+ Velociti.2 Vliw DSP |
C64X+ Velociti.2 Vliw DSP |
C64X+ Velociti.2 Vliw DSP |
|
Kloksnelheid |
500 MHz |
500 MHz |
600 MHz |
500 MHz |
Tot 720 MHz (hogere laag) |
|
Prestaties (MIPS) |
~ 4.000 bij 500 MHz |
~ 4.000 bij 500 MHz |
~ 4.800 bij 600 MHz |
~ 4.000 bij 500 MHz |
Hoger, tot ~ 8.000 MIPS |
|
On-chip geheugen |
L1P 16 KB, L1d 48 KB, L2 64 KB |
L1P 16 KB, L1d 48 KB, L2 64 KB |
L1P 16 KB, L1d 48 KB, L2 64 KB |
L1P 16 KB, L1d 48 KB, L2 64 KB |
Grotere L2 -opties beschikbaar |
|
ROM -maat |
64 kb boot rom |
64 kb boot rom |
64 kb boot rom |
64 kb boot rom |
64 kb boot rom |
|
Externe geheugenondersteuning |
DDR2 (16-bit), Emifa (8-bit) |
DDR2 (16-bit), Emifa (8-bit) |
DDR2 (16-bit), Emifa (8-bit) |
DDR2 (16-bit), Emifa (8-bit) |
DDR2 (16-bit), Emifa (8-bit) |
|
Ethernet Mac |
10/100 MB/s met MDIO |
10/100 MB/s met MDIO |
10/100 MB/s met MDIO |
10/100 MB/s met MDIO |
10/100 MB/s met MDIO |
|
Bedrijfstemperatuur |
0 ° C tot 90 ° C (commercieel) |
0 ° C tot 90 ° C (commercieel) |
0 ° C tot 90 ° C (commercieel) |
–40 ° C tot +125 ° C (industrieel) |
0 ° C tot 90 ° C (commercieel) |
|
Pakket |
361-pin NFBGA (16 × 16 mm) |
361-pin NFBGA (diff. Markering) |
361-pin NFBGA |
361-pin NFBGA |
361-pin NFBGA |
|
Toepassingen |
Telecom, audio, ingebed |
Telecom, audio, ingebed |
Performance-kritische telecom |
Industriële/harde omgeving |
Heerder-end telecom & voip |
Het proces gaat meestal van het instellen van de omgeving naar het schrijven, debuggen en implementeren van geoptimaliseerde DSP -code.
1. Installeer ontwikkelingstools
De eerste stap is het instellen van Code Composer Studio (CCS), de geïntegreerde ontwikkelingsomgeving van TI.Deze software biedt de tools voor compiler, assembler, debugger en projectmanagement die specifiek zijn ontworpen voor de C6000 DSP -familie.Zonder deze instelling zou het programmeren en testen van de DSP -hardware niet mogelijk zijn.
2. Maak een nieuw project
Begin in CCS met het maken van een nieuw project dat is geconfigureerd voor het TMS320C6421 -apparaat.Dit omvat het kiezen van de juiste compileropties, Linker -opdrachtbestanden en opstartcodesjablonen.Correcte projectinstellingen zorgt ervoor dat de geheugenkaart en systeembronnen zijn afgestemd op de hardware.
3. Schrijf de applicatiecode
Toepassingen kunnen worden geschreven in C voor algemene logica of in assemblage voor prestatiekritische routines.Velen profiteren van de C64X+ VLIW -architectuur, waarmee meerdere instructies parallel kunnen worden uitgevoerd.Het optimaliseren van lussen en het gebruik van DSP-specifieke intrinsica kan de efficiëntie aanzienlijk verbeteren.
4. Compileren en optimaliseren
Na het coderen wordt het programma samengesteld en geassembleerd in machine -instructies.De compiler van TI omvat optimalisatiefuncties zoals software pipelining en lusuitrollen om de doorvoer te maximaliseren.In dit stadium zorgt de programmeur ervoor dat uitvoeringssnelheid en geheugengebruik voldoen aan de toepassingsvereisten.
5. Link en laden
De gecompileerde objectbestanden zijn gekoppeld volgens de geheugenkaart van het apparaat, waarbij code en gegevens worden geplaatst in de juiste interne en externe geheugengebieden.Eenmaal gekoppeld, wordt het binair op de DSP geladen via de JTAG -debugger.Dit bereidt het systeem voor uitvoering op de hardware.
6. Debug op hardware
Met CCS kunt u breekpunten instellen, registers bewaken en instructies doorlopen terwijl de DSP wordt uitgevoerd.Debuggen op hardware onthult gedrag, zoals cachegebruik, interrupts en gegevensoverdrachten.Dit proces zorgt ervoor dat de toepassingsfuncties correct zijn onder daadwerkelijke bedrijfsomstandigheden.
7. Implementeren en bewaken
Zodra het testen is voltooid, wordt het programma geïmplementeerd voor zelfstandige uitvoering op het doelsysteem.U kunt nog steeds CCS gebruiken om de prestaties te controleren, geheugentoewijzing te verfijnen of het stroomverbruik te verminderen.Deze laatste stap bevestigt dat de DSP betrouwbaar wordt uitgevoerd en klaar is voor praktische toepassingen.
• DSP-prestaties met hoge vaste punt met VLIW-parallellisme
• Opwaartse codecompatibiliteit met oudere C6000 -apparaten
• Rijke set geïntegreerde randapparatuur vermindert externe componenten
• Strong Development Ecosystem met CCS en optimalisatietools
• Flexibele cache- en geheugenarchitectuur voor snellere gegevensverwerking
• Geen dynamische spanning of frequentieschaling voor stroombesparing
• Hoger stroomverbruik in vergelijking met DSP's met een laag vermogen
• Ontbreekt ingebouwde beveiligingsfuncties voor veilige opstart of bescherming
• Minder geschikt voor toepassingen met draagbare of batterijen aangedreven
• Vaste prestatieprofiel met beperkt aanpassingsvermogen voor mobiel gebruik

|
Type |
Parameter |
|
Pakkettype |
NFBGA (361-ball, ZWT) |
|
Balrooster array |
16 × 16 |
|
Telling |
361 |
|
Totale lengte (L) |
17,5 mm |
|
Totale breedte (W) |
15,45 mm |
|
Bereik van lichaamsgrootte |
15,90 mm - 16,10 mm |
|
Ball -pitch |
0,80 mm |
|
Kogeldiameter |
0,45 mm - 0,55 mm |
|
Pakkethoogte (h) |
1,19 mm - 1,40 mm |
|
Balhoogte (afstand) |
0,35 mm - 0,45 mm |
|
Zitvlak tolerantie |
± 0,12 mm |
|
Hoekindex (A1) |
Gemarkeerde referentiehoek |
De TMS320C6421ZWT5 wordt vervaardigd door Texas Instruments (TI), een toonaangevend Amerikaans halfgeleiderbedrijf met hoofdkantoor in Dallas, Texas.TI staat wereldwijd bekend om zijn innovaties in analoge en ingebedde verwerkingstechnologieën, en biedt oplossingen die een breed scala aan industrieën van stroom bieden, waaronder telecommunicatie, automotive, industriële automatisering en consumentenelektronica.Met tientallen jaren van expertise in het ontwikkelen van krachtige digitale signaalprocessors heeft TI de TMS320-familie opgericht als hoeksteen voor signaalverwerkingstoepassingen.Het bedrijf ondersteunt ook met uitgebreide ontwerptools, software -omgevingen en documentatie, waardoor de betrouwbare integratie van zijn DSP -producten in geavanceerde ingebedde systemen wordt gewaarborgd.
De TMS320C6421ZWT5 onderscheidt zich voor zijn sterke vaste-puntprestaties, flexibele geheugensysteem en rijke connectiviteit die geschikt zijn voor veeleisende applicaties in communicatie, audio, video en automatisering.Het ontwerp maakt ontwikkeling efficiënt via Code Composer Studio, met tools voor optimalisatie en foutopsporing op hardware.De processor biedt een goede schaalbaarheid, sterke integratie en brede ondersteuning, hoewel hij sommige energiebesparende en beveiligingsfuncties ruilt.Over het algemeen biedt het een betrouwbare balans tussen prestaties, geheugen en interfaces, ondersteund door het ecosysteem van TI en het bewezen C6000 -platform, waardoor het een praktische keuze is voor geavanceerde ingebedde projecten.
Stuur een aanvraag, we zullen onmiddellijk reageren.
Ja.Het onderhoudt opwaartse codecompatibiliteit met eerdere C6000 -apparaten, die helpen bij het hergebruiken van bestaande projecten en het verkorten van de ontwikkelingscycli.
Hoewel het meer kracht verbruikt dan ultra-low-power DSP's, biedt het veel hogere verwerkingsdoorvoer, rijkere randapparatuur en snellere geheugeninterfaces, waardoor het beter geschikt is voor prestatie-intensieve ontwerpen.
Ja.Met een geïntegreerde 10/100 Ethernet MAC en VLYNQ-interface ondersteunt de processor netwerkconnectiviteit, waardoor deze goed kan werken in communicatie- en gegevensuitwisselingsomgevingen.
Ja.De TMS320C6421ZWT5 omvat een DDR2 SDRAM -controller en EMIF -interface, waardoor verbinding met NOR of NAND -flits kan worden toegepast voor grotere opslagvereisten.
De VLIW -kern voert maximaal acht instructies per cyclus uit, ondersteund door EDMA voor snelle gegevensoverdrachten, waardoor het efficiënt is bij het tegelijkertijd omgaan met meerdere taken.
Op 2025/08/28
Op 2025/08/26
Op 8000/04/18 147778
Op 2000/04/18 112030
Op 1600/04/18 111351
Op 0400/04/18 83788
Op 1970/01/1 79587
Op 1970/01/1 66973
Op 1970/01/1 63109
Op 1970/01/1 63043
Op 1970/01/1 54097
Op 1970/01/1 52195