
De AD5328BRU is een 12-bits digitaal-naar-analoog-omzetter die acht onafhankelijke spanningsuitgangskanalen biedt binnen één enkel opbouwapparaat.Het zet digitale invoergegevens om in stabiele analoge niveaus die geschikt zijn voor systemen die een gecoördineerde meerkanaalsbesturing vereisen.Elke uitgang is intern gebufferd, wat directe verbinding met externe circuits ondersteunt zonder toegevoegde componenten.Het apparaat communiceert via een seriële interface, waardoor een eenvoudige integratie met digitale besturingslogica mogelijk is.Veel voorkomende toepassingen zijn onder meer signaalaanpassing, spanningsinstelling en meerkanaalsregeling in meet- en automatiseringsapparatuur.Op zoek naar AD5328BRU?Neem contact met ons op om de huidige voorraad, levertijd en prijzen te controleren.

| Pinnummer | Pin-naam | Beschrijving |
| 1 | LDAC | Actieve lage regeling die invoerregistergegevens naar DAC-registers overdraagt |
| 2 | SYNC | Actieve low-frame-synchronisatie voor seriële gegevensoverdracht |
| 3 | VDD | Voedingsingang, 2,5 V tot 5,5 V |
| 4 | VOUTA | Gebufferde analoge uitgang van DAC A |
| 5 | VOUTB | Gebufferde analoge uitgang van DAC B |
| 6 | VOUTC | Gebufferde analoge uitgang van DAC C |
| 7 | VOUTD | Gebufferde analoge uitgang van DAC D |
| 8 | VREFABCD | Referentie-ingang voor DAC-kanalen A tot D |
| 9 | VREFEFGH | Referentie-ingang voor DAC-kanalen E tot H |
| 10 | VOUT | Gebufferde analoge uitgang van DAC E |
| 11 | VOUTF | Gebufferde analoge uitgang van DAC F |
| 12 | VOUTG | Gebufferde analoge uitgang van DAC G |
| 13 | VOUT | Gebufferde analoge uitgang van DAC H |
| 14 | GND | Aardreferentie voor apparaat |
| 15 | DIN | Seriële gegevensinvoer |
| 16 | SCLK | Seriële klokingang |



Het apparaat biedt een resolutie van 12 bits en produceert 4096 verschillende uitvoerniveaus.Deze resolutie maakt een nauwkeurige aanpassing van de uitgangsspanningen mogelijk, ter ondersteuning van toepassingen die een soepele regeling en consistente signaalstappen over het volledige uitgangsbereik vereisen.
Acht afzonderlijke DAC-kanalen zijn geïntegreerd in één apparaat.Elk kanaal werkt onafhankelijk, waardoor meerdere spanningsuitgangen tegelijkertijd kunnen worden aangestuurd zonder interactie, wat het ontwerp van het meerkanaals systeem vereenvoudigt.
Elke uitgang bevat een interne buffertrap.Door deze buffering kan de uitgang rechtstreeks externe circuits aansturen terwijl stabiele spanningsniveaus behouden blijven, waardoor de behoefte aan extra externe componenten wordt verminderd.
De uitgangsspanning bereikt zijn uiteindelijke waarde in ongeveer 10 microseconden.Deze responstijd ondersteunt systemen die tijdige spanningsupdates vereisen zonder lange vertragingen tussen codewijzigingen.
Het apparaat maakt gebruik van een seriële interface die aansluit bij gangbare digitale besturingsprotocollen.Dit maakt hem geschikt voor aansluiting op een breed scala aan digitale besturingslogica met behulp van minimale signaallijnen.
Er is een externe referentie-ingang voorzien om het volledige uitvoerbereik te definiëren.Hierdoor kan het uitgangsbereik worden aangepast aan de specifieke systeemspanningsvereisten.
Zowel de analoge als de digitale sectie werken met voedingsspanningen tussen 2,5 volt en 5,5 volt.Deze flexibiliteit ondersteunt het gebruik in laagspanningssystemen en omgevingen met gemengde voeding.
De interne, op strings gebaseerde conversiestructuur ondersteunt monotoon uitgangsgedrag en vermindert uitgangsverstoringen tijdens codeovergangen, waardoor soepele en voorspelbare spanningsveranderingen behouden blijven.
| Productkenmerk | Kenmerkwaarde |
| Fabrikant | Analoge apparaten, Inc. |
| Spanning - voeding, digitaal | 2,5 V ~ 5,5 V |
| Spanning - voeding, analoog | 2,5 V ~ 5,5 V |
| Apparaatpakket van leverancier | 16-TSSOP |
| Tijd regelen | 10 µs |
| Referentietype | Extern |
| Pakket / doos | 16-TSSOP (0,173", 4,40 mm breed) |
| Pakket | Buis |
| Uitvoertype | Spanning - gebufferd |
| Bedrijfstemperatuur | -40°C ~ 125°C |
| Aantal D/A-converters | 8 |
| Aantal bits | 12 |
| Montagetype | Opbouwmontage |
| INL/DNL (LSB) | ±2, ±0,2 |
| Differentiële uitgang | Nee |
| Gegevensinterface | SPI, DSP |
| Architectuur | String-DAC |
| Basisproductnummer | 5328 n.Chr |
| Vochtgevoeligheidsniveau (MSL) | 1 (onbeperkt) |
| ECCN | OOR99 |
| HTSUS | 8542.39.0001 |

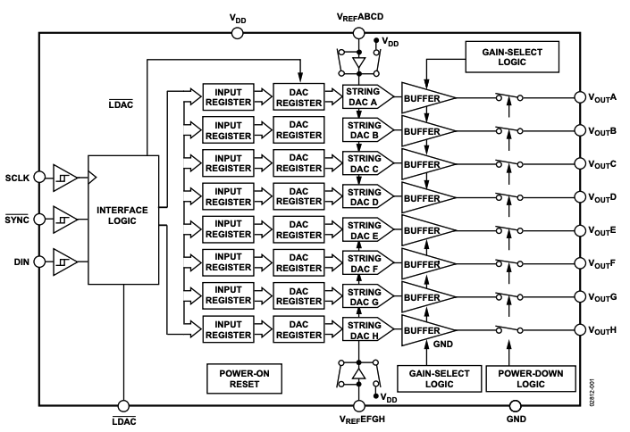
De interne structuur is georganiseerd rond acht identieke DAC-kanalen, gelabeld van A tot en met H, elk opgebouwd uit een ingangsregister, DAC-register, weerstandsreekskern en uitgangsbuffer om onafhankelijke analoge spanningen te genereren.Digitale besturing vindt plaats via een seriële interface die gebruikmaakt van DIN-, SCLK-, SYNC- en LDAC-signalen, die het laden van gegevens beheren en updates via alle kanalen registreren.Twee referentie-ingangen, VREFABCD en VREFEFGH, leveren programmeerbare volledige schaalniveaus voor afzonderlijke kanaalgroepen, terwijl de versterkingsselectielogica de uitgangsschaling definieert.De logica voor het opnieuw instellen bij inschakelen en uitschakelen beheert het opstartgedrag en het uitschakelen van kanalen, en de gebufferde uitgangen VOUTA tot en met VOUTH bieden spanningsuitgangen met lage impedantie, gerelateerd aan VDD en GND.

De circuitconfiguratie stelt voor dat de AD5328BRU werkt met een externe spanningsreferentie en een enkele voeding variërend van 2,5 V tot 5,5 V. De referentiebron is verbonden met de VREFABCD- en VREFEFGH-pinnen en is ontkoppeld met een lokale condensator om een stabiele referentie-ingang voor alle DAC-kanalen te garanderen.De ontkoppeling van de voeding wordt geïmplementeerd met behulp van parallelle condensatoren van 0,1 µF en 10 µF die zijn aangesloten tussen VDD en aarde om ruis te verminderen.De seriële interface maakt gebruik van SCLK-, DIN- en SYNC-lijnen om digitale gegevens te laden, terwijl de gebufferde uitgangen VOUTA tot en met VOUTH onafhankelijke analoge spanningen leveren die zijn gerelateerd aan de externe bron.
De AD5328BRU wordt gebruikt om stuurspanningen te genereren voor actuatoren, kleppen en regelcircuits in geautomatiseerde systemen.Dankzij de meerdere uitgangskanalen kunnen verschillende procesvariabelen worden aangepast vanaf één enkel apparaat, wat een gecoördineerde en herhaalbare controle in fabrieks- en fabrieksomgevingen ondersteunt.
In data-acquisitiesystemen biedt het apparaat programmeerbare referentie- en kalibratiespanningen over meerdere kanalen.Dit ondersteunt signaalconditioneringstaken waarbij consistente en instelbare analoge niveaus nodig zijn naast digitale meetcircuits.
Het apparaat is geschikt voor het instellen van uitgangsniveaus in programmeerbare voedingen en biascircuits.Dankzij het vermogen om stabiele spanningen over meerdere kanalen te produceren, kunnen verschillende voorspanningspunten onafhankelijk binnen hetzelfde systeem worden geregeld.
In audio- en algemene signaalbesturingstoepassingen past de AD5328BRU de versterkingsniveaus, offsets en referentiespanningen aan.Soepele uitgangsovergangen helpen gecontroleerde niveauveranderingen te behouden zonder abrupte stappen tijdens het aanpassen.
Draagbare instrumenten gebruiken het apparaat om referentiespanningen en instelbare uitgangsniveaus te beheren terwijl ze werken vanaf lage voedingsspanningen.De integratie ervan helpt de circuitgrootte te verkleinen, wat compacte en energiebewuste ontwerpen ondersteunt.
Het apparaat wordt toegepast in communicatie- en testopstellingen om programmeerbare spanningsniveaus te genereren voor afstemming, offsetregeling en signaalsimulatie.Dankzij meerdere uitgangen kunnen verschillende testpunten worden aangestuurd onder gecoördineerde digitale besturing.

De mechanische tekening definieert de fysieke grootte en lay-out van het 16-draads opbouwpakket, waarbij een nominale lichaamsbreedte en -lengte van ongeveer 5,00 mm wordt weergegeven met toegestane toleranties.De pinnummering wordt aangegeven van pin 1 tot pin 16 om de juiste oriëntatie tijdens de montage te garanderen.De loodsteek is gespecificeerd op 0,65 mm met gecontroleerde coplanariteit om een goed soldeercontact op het zittingvlak te garanderen.De maximale pakkethoogte is beperkt tot ongeveer 1,20 mm, en zijaanzichten geven de buighoeken en afstandsafmetingen aan die een betrouwbare montage op printplaten ondersteunen.
• Acht uitgangskanalen ondersteunen compacte ontwerpen met meerdere uitgangen
• Gebufferde uitgangen maken directe aansluiting op externe circuits mogelijk
• Groot voedingsspanningsbereik, geschikt voor laagspannings- en standaardsystemen
• Voorspelbaar uitgangsgedrag ondersteunt een stabiele spanningsregeling
• Geïntegreerd ontwerp vermindert het totale aantal onderdelen
• 12 bit resolutie beperkt een zeer fijne spanningsaanpassing
• De uitvoersnelheid is eerder gematigd dan snel
• Externe referentie-invoer voegt een extra ontwerpstap toe
• Seriële interface beperkt de updatesnelheid in sommige systemen
| Onderdeelnummer | Fabrikant | Belangrijkste kenmerken | Gebruik case/notities |
| AD5328BRUZ-REEL7 | Analoge apparaten Inc. | 12-bits octale DAC met gebufferde spanningsuitgangen, SPI-compatibele interface, werking met laag stroomverbruik en ondersteuning voor externe referentie.Geleverd in tape en haspel voor automatische montage. | Ontworpen voor productie in grote volumes waarbij meerdere nauwkeurige analoge uitgangen nodig zijn in compacte, opbouwmontage-ontwerpen. |
| AD5328BRUZ | Analoge apparaten Inc. | Dezelfde 12-bits resolutie en acht gebufferde spanningsuitgangen, SPI/DSP-interfaceondersteuning en een breed voedingsspanningsbereik in buisverpakking. | Geschikt voor prototyping, testen of productie in kleine volumes waarbij handmatige bediening de voorkeur heeft. |
| AD5328BRUZ-REEL | Analoge apparaten Inc. | Identieke elektrische prestaties als de buizenversie, met achtkanaals 12-bit DAC-architectuur met gebufferde uitgangen en seriële besturing. | Ideaal voor geautomatiseerde PCB-assemblageprocessen in industriële, instrumentatie- en ingebedde besturingstoepassingen. |
Analog Devices, Inc. is een wereldwijd technologiebedrijf dat bekend staat om de ontwikkeling van oplossingen voor analoge, gemengde signalen en digitale signaalverwerking.Het bedrijf bedient een breed scala aan markten, waaronder industriële systemen, communicatie, gezondheidszorg, automobielsector en instrumentatie.Het productportfolio omvat dataconverters, versterkers, apparaten voor energiebeheer, sensoren en signaalverwerkingscomponenten die nauwkeurige metingen en controle ondersteunen.Analog Devices legt sterke nadruk op lange productlevenscycli, prestaties op systeemniveau en consistentie tussen productfamilies, waardoor ontwerpers betrouwbare platforms kunnen bouwen die in de loop van de tijd kunnen worden onderhouden en geschaald.
De AD5328BRU biedt u een eenvoudige manier om meerdere spanningsuitgangen vanaf één compact apparaat te beheren.De 12-bits resolutie biedt soepele bediening, terwijl acht gebufferde kanalen extra circuits helpen verminderen.De seriële interface houdt de verbindingen minimaal en gemakkelijk te hanteren.Met flexibele leverings- en referentiemogelijkheden past hij comfortabel in vele systemen.U profiteert ook van voorspelbaar uitvoergedrag dat een stabiele werking ondersteunt.Over het geheel genomen is het een praktische keuze als u zuivere, meerkanaals analoge bediening wilt zonder extra complexiteit.
Stuur een aanvraag, we zullen onmiddellijk reageren.
Het zet digitale gegevens om in analoge spanningen over acht afzonderlijke uitgangskanalen.
Het biedt acht onafhankelijke gebufferde spanningsuitgangen met de aanduiding A tot en met H.
Het apparaat biedt een resolutie van 12 bits, wat 4096 mogelijke uitgangsniveaus oplevert.
Ja, het maakt gebruik van externe referentie-ingangen om het volledige uitgangsbereik te definiëren.
Het wordt vaak gebruikt in automatiserings-, meet-, signaalcontrole- en programmeerbare spanningstoepassingen.
Op 2025/12/23
Op 2025/12/23
Op 8000/04/18 147780
Op 2000/04/18 112047
Op 1600/04/18 111352
Op 0400/04/18 83806
Op 1970/01/1 79607
Op 1970/01/1 66986
Op 1970/01/1 63113
Op 1970/01/1 63048
Op 1970/01/1 54097
Op 1970/01/1 52199