
De TIP42C belichaamt een PNP-stroomtransistor gehuisvest in een tot 220 plastic pakket.Deze serie bevat vier variaties: TIP42,, TIP42A ,, TIP42Ben Tip42c.De TIP42C onderscheidt zich voor zijn spanningscapaciteit, in staat om tot -100V aan te pakken en biedt uitzonderlijke veelzijdigheid voor tal van schakel- en versterkingsgebruik.De frequente combinatie met de NPN -tegenhanger, de TIP41C, benadrukt verder de uitgebalanceerde toepassing in elektronische ontwerpen.
Ontworpen om maximaal 65 W weg te nemen en een maximale collectorstroom van -6a te beheren, heeft de TIP42C de voorkeur in krachtintensieve contexten.Typische gebruik omvat audioversterkers, waarbij geluidsdariteit dominant is, en energiebeheersystemen, waardoor consistente energiestroom wordt gewaarborgd.Op basis van praktisch gebruik maakt de stabiliteit van de TIP42C in verschillende temperatuuromstandigheden van onschatbare waarde voor het wisselen van regulatoren in voedingseenheden.Het TO-220-pakket vergroot zijn warmtedissipatie, waardoor de operationele levensduur aanzienlijk wordt verlengd, een eigenschap die wordt gekoesterd in zowel consumentenelektronica als industriële machines.
Wanneer een systeem complementaire transistorparen vereist, komt de TIP42C in combinatie met de TIP41C naar voren als een uitstekende keuze.Deze synergie vereenvoudigt het circuitontwerp en stimuleert de algehele prestaties.Deze koppeling verbetert de geluidskwaliteit in audiotamplificatiecircuits, een subtiele maar impactvolle verbetering van de audiotechnologie.In de TIP42-serie maakt de opmerkelijke hogere spanningscapaciteit van de TIP42C het ideaal voor hoogspanningstoepassingen.Aan de andere kant kunnen de TIP42 en TIP42A voor projecten met lagere spanningsbehoeften voldoende zijn.Voor meer inspannende eisen zijn de TIP42B en TIP42C echter de go-to-opties.Elke variatie heeft unieke attributen die geschikt zijn voor specifieke vereisten, waardoor het selectieproces zowel serieus als fascinerend wordt.

|
PIN Nr. |
Speldnaam |
Beschrijving |
|
1 |
Baseren |
Regelt de voorkeur van de transistor en is gewend
Schakel de transistor in/uit |
|
2 |
Verzamelaar |
Waar de stroom binnenstrekt, normaal verbonden met belasting |
|
3 |
Emitter |
Waar de stroom eruit stroomt, normaal gesproken verbonden met de grond |



|
Functie |
Specificatie |
|
Transistortype |
PNP |
|
Pakkettype |
TO-220 |
|
Max Collector Current (IC) |
-6a |
|
Max Collector-Emitter Voltage (VCE) |
-100V |
|
Max Collector-Base-spanning (VCB) |
-100V |
|
Max emitter-base spanning (Vebo) |
-5V |
|
Max Collector Dissipation (PC) |
65 watt |
|
Max Transition Frequency (FT) |
3 MHz |
|
DC Current Gain (HFE) |
15 - 75 |
|
Max opslag- en bedrijfstemperatuur |
-65 tot +150 ° C |
De TIP42C-serie introduceert een PNP-NPN-complementair ontwerp, waardoor de efficiëntie en prestaties van het circuit aanzienlijk worden gestimuleerd.Aanvullende paren, zoals die in deze serie, vergemakkelijken de naadloze werking in zowel versterkings- als schakelscenario's, waardoor de behoefte aan extra componenten en stroomlijningscircuitindelingen wordt verminderd.
Een opvallend voordeel van de TIP42C-serie ligt in zijn high-speed schakelcapaciteit.Deze functie ondersteunt snelle overgangen met minimale vertraging, ideaal voor toepassingen die snelle responstijden eisen, zoals motorbesturing en signaalverwerking.Het vermogen van de component om te schakelen, verbetert snel de algehele systeemefficiëntie en betrouwbaarheid, waardoor het een favoriete keuze is voor voedingscircuits die een stabiele en efficiënte werking vereisen.
De TIP42C -serie valt op vanwege zijn verbeterde HFE -lineariteit.Verhoogde lineariteit in de huidige versterking (HFE) zorgt voor consistente versterkingseigenschappen over een divers scala aan bedrijfsomstandigheden.Deze betrouwbaarheid vertaalt zich in meer voorspelbare en stabiele prestaties, vooral actief voor analoge signaalverwerking en precisie -instrumentatie.In praktische toepassingen betekent dit dat operationele versterkers en analoge circuits een hoge betrouwbaarheid kunnen bereiken, waardoor de integriteit van de signalen die ze verwerken handhaven.
TIP42C -transistors zijn Gegroepeerde HFE -waarden, gecategoriseerd op basis van hun huidige versterkingsbereik.Dit biedt een voordeel in toepassingen die gematchte paren noodzakelijk maken door het ontwerpproces te vereenvoudigen en individuele testinspanningen te verminderen.Gegroepeerde HFE -waarden zorgen ervoor dat gepaarde transistors uniform functioneren, een bezinkende aspect in differentiële versterkerontwerpen en andere symmetrische circuitconfiguraties.
|
Type |
Parameter |
|
Levenscyclusstatus |
Actief (laatst bijgewerkt: 8 maanden geleden) |
|
Factory doorlooptijd |
8 weken |
|
Inzetten |
Door gat |
|
Montagetype |
Door gat |
|
Pakket / kast |
TO-220-3 |
|
Aantal pinnen |
3 |
|
Gewicht |
4.535924G |
|
Transistorelementmateriaal |
SILICIUM |
|
Breakdown-spanning van de collector-emitter |
100V |
|
Aantal elementen |
1 |
|
hfemin |
15 |
|
Bedrijfstemperatuur |
150 ° C TJ |
|
Verpakking |
Buis |
|
JESD-609 Code |
E3 |
|
Onderdeelstatus |
Actief |
|
Vochtgevoeligheidsniveau (MSL) |
1 (onbeperkt) |
|
Aantal beëindigingen |
3 |
|
ECCN -code |
EAR99 |
|
Eindafwerking |
Mat tin (sn) |
|
Spanning - nominale DC |
-100V |
|
Max Power Dissipation |
65W |
|
Huidige beoordeling |
-6a |
|
Basisonderdeelnummer |
TIP42 |
|
Telling |
3 |
|
Elementconfiguratie |
Enkel |
|
Power Dissipation |
65W |
|
Transistortoepassing |
Schakel |
|
GAON BANDBIDTH PRODUCT |
3MHz |
|
Polariteit/kanaaltype |
PNP |
|
Transistortype |
PNP |
|
Collector emitter spanning (VCEO) |
100V |
|
Max Collector Stroom |
6a |
|
DC Current Gain (HFE) (min) @ IC, VCE |
15 @ 3A 4V |
|
Current - Collector Cutoff (Max) |
700μA |
|
Jedec-95 Code |
TO-220AB |
|
VCE verzadiging (max) @ ib, ic |
1.5V @ 600MA, 6A |
|
Overgangsfrequentie |
3MHz |
|
Collector Base Voltage (VCBO) |
100V |
|
Emitter basisspanning (vebo) |
5V |
|
Hoogte |
15,75 mm |
|
Lengte |
10,4 mm |
|
Breedte |
4,6 mm |
|
Bereik SVHC |
Geen SVHC |
|
Stralingsharding |
Nee |
|
ROHS -status |
ROHS3 -compatibel |
|
Leid gratis |
Leid gratis |
|
Onderdeelnummer |
Beschrijving |
Fabrikant |
|
2N2646-JQR-AR1 |
Power Bipolar Transistor, 10a (IC), 70V V (BR) CEO,
1-element, PNP, silicium, TO-204AA, metaal, 2 pin, hermetisch verzegeld, metaal,
TO-3, 2 pin |
TT elektronicaweerstanden |
|
2N2646-MODR1 |
10A, 70V, PNP, SI, Power Transistor, To-204AA, Hermetic
Afgesloten, metaal, TO-3, 2 pin |
TT Electronics Power en Hybrid / Semelab Limited |
|
Bux66 |
Transistor |
Algemene elektrische vaste toestand |
|
Jan2N6212 |
Transistor, BJT, PNP, 300V (BR) CEO, 2A IC, TO-66 |
Intersil Corporation |
|
MJ2500 |
Medium Power Transistors complementair silicium |
New Jersey Semiconductor Products Inc |
|
2N4240R1 |
5A, 300V, NPN, SI, Power Transistor, TO-66, TO-66, 2 PIN |
TT Electronics Power en Hybrid / Semelab Limited |
|
2N2647 |
Transistor |
API Technologies Corp |
|
2N2647-JQR-B |
Power Bipolar Transistor, 10a (IC), 90V V (BR) CEO,
1-element, PNP, silicium, TO-204AA, metaal, 2 pin, hermetisch verzegeld, metaal,
TO-3, 2 pin |
TT elektronicaweerstanden |
|
2N6313-MOD |
5A, 600V, PNP, SI, Power Transistor, To-213AA, Hermetic
Afgesloten, metaal, tot-66, 2 pin |
TT Electronics Power en Hybrid / Semelab Limited |
|
Jan2N6211 |
Power Bipolar Transistor, 2a (IC), 225V V (BR) CEO,
1-element, PNP, silicium, TO-66, metaal, 2 pin, TO-66, 2 pin |
Microsemi Corporation |
•Tip41c Transistor
De TIP41C-transistor is ontworpen om een collector-emitterspanning (VCE) van maximaal 100V af te handelen.Het is in staat om een verzamelstroom (IC) van 6A te beheren zonder de prestaties in gevaar te brengen.Deze transistor kan het vermogen tot 65 W afwenden, waardoor het geschikt is voor toepassingen waarbij warmtebeheer een zorg is.De TIP41C heeft een junctietemperatuur (TJ) die tot 150 ° C kan bereiken, wat betrouwbaarheid biedt onder substantiële thermische spanning.
De Tip41C werkt binnen een opslagtemperatuurbereik van -65 ° C tot 150 ° C en kan zware omstandigheden doorstaan.De robuuste constructie zorgt voor functionaliteit in verschillende veeleisende omgevingen.Audio -versterking en signaalverwerking.De TIP41C -transistor vindt het gebruik ervan vaak in audioverstingssystemen, waar het bijdraagt aan de duidelijkheid en de kracht van geluid.In motorbesturingstoepassingen helpt het bij het reguleren van de motorsnelheid, waardoor een soepele en efficiënte overgang tussen motortoestanden wordt geleverd.Deze mogelijkheid past nauw aan bij zijn huidige handlingeigenschappen.De TIP41C dient in relaisdrivers vanwege het vermogen om te schakelen en hoogstroombelastingen efficiënt te regelen.De vermogensbeheervaardigheden zorgen voor consistente prestaties.
Overweeg bij het integreren van de TIP41C in een circuit het juiste koellichaam om oververhitting te voorkomen, wat de prestaties en de levensduur kan beïnvloeden.Besteed aandacht aan zijn verzadigingsspanning (VCE (SAT)) en schakeltijden (ton en Toff) bij het ontwerpen van circuits die snel schakelen vereisen, omdat deze parameters de algehele efficiëntie en snelheid beïnvloeden.Juiste vooringenomenheid is vereist om de stabiliteit van de TIP41C in verschillende operationele omstandigheden te handhaven.Beoordeel de externe weerstanden en condensatoren om betrouwbare prestaties te garanderen.
De TIP42C vindt uitgebreid gebruik in krachtige toepassingen in elektronische circuits, waardoor het volkomen wordt beheerd tot -6A collectorstroom en -100V collector -emitterspanning.
Vanwege de aanzienlijke stroom- en spanningsbeheermogelijkheden is de TIP42C een goede keuze voor het besturen van krachtige schakelaars en relais.Deze toepassingen omvatten motorbesturingssystemen waar de precisie van stroomafgifte aan de motor de prestaties aanzienlijk kan beïnvloeden.In industriële automatisering hangt de werking van zware machines bijvoorbeeld vaak af van transistoren om hoge belastingen te verwerken zonder te bezwijken voor oververhitting of falen.
De TIP42C is ook effectief in het voeden van audioversterkers met hoge wattage, waardoor audiosamplificatie tot 65 W mogelijk wordt.Dit zorgt voor een duidelijke en krachtige geluidsuitgang, die geschikt is voor audiosystemen voor consumenten.De robuuste versterking van deze transistoren is bijvoorbeeld gevaarlijk in live concertgeluidsystemen, waardoor audiosignalen zonder vervorming worden gestimuleerd.
TIP42C vindt uitgebreid gebruik in algemene circuitontwerpen vanwege het kenmerk als een PNP -bipolaire junctietransistor.Door de veerkracht kan het een breed scala aan spanning en stroomniveaus in staat zijn om circuitstabiliteit te verhogen.Wanneer het wordt gebruikt in gemeenschappelijke emitterconfiguraties, draagt dit aanzienlijk bij aan de versterking van spanningssignalen.
Bij toepassingen op het opladen van batterijen is TIP42C basic voor het reguleren van laadspanning en stroom, zodat het proces zowel snel als veilig is.Observaties van werkelijke toepassingen benadrukken thermisch beheer als aandringend om consistente prestaties gedurende langere periodes te behouden.
TIP42C vindt effectief gebruik in Darlington Pair -configuraties om een hogere huidige winst te verkrijgen.Deze opstelling versterkt de invoerstromen aanzienlijk, waardoor het geschikt is voor toepassingen die een superieure huidige versterking eisen.Het gebruik van koellichamen in praktische implementaties helpt bij het handhaven van de operationele stabiliteit en verlengt de levensduur van het apparaat.

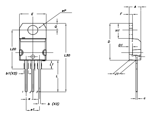
|
Vaag |
mm |
inch |
||||
|
Min |
Typen |
Maximaal |
Min |
Typen |
Maximaal |
|
|
A |
4.4 |
4.6 |
0,173 |
0.181 |
||
|
B |
0,61 |
0,88 |
0,024 |
0,034 |
||
|
B1 |
1.14 |
1.7 |
0,044 |
0,066 |
||
|
C |
0,49
|
0,7 |
0,019 |
0,027 |
||
|
D |
15.25 |
15.75 |
0,6 |
0,62 |
||
|
D1 |
1.27 |
0,05 |
||||
|
E |
10 |
10.4 |
0.393 |
0.409 |
||
|
e |
2.4 |
2.7 |
0,094 |
0.106 |
||
|
E1 |
4.95 |
5.15 |
0.194 |
0,202 |
||
|
F |
1.23 |
1.32 |
0,048 |
0,051 |
||
|
H1 |
6.2 |
6.6 |
0.244 |
0,256 |
||
|
J1 |
2.4 |
2.72 |
0,094 |
0.107 |
||
|
L |
13 |
14 |
0,511 |
0,551 |
||
|
L1 |
3.5 |
3.93 |
0,137 |
0,154 |
||
|
L20 |
16.4 |
0,645 |
||||
|
L30 |
28.9 |
1.137 |
||||
|
Øp |
3.75 |
3.85 |
0,147 |
0,151 |
||
|
Q |
2.65 |
2.95 |
0.104 |
0.116 |
||
STMICROECTRONICS is een pionier in halfgeleiderinnovatie, die voornamelijk uitblinkt in System-on-Chip (SOC) -technologie.Het bedrijf biedt een gevarieerd scala aan silicium- en systeemoplossingen om tegemoet te komen aan gevarieerde micro -elektronische toepassingen.
Stmicroelectronics, bekend om zijn SOC -technologie, integreert meerdere functies in een enkele chip, waardoor efficiëntie en prestaties worden gestimuleerd.In het snelle technologische landschap zijn compacte en betrouwbare verwerkingseenheden begeerd.Door continue innovatie en aanpassing zorgt STMicroelectronics ervoor dat hun SOC -oplossingen de gelegenheid aangaan, wat de wijsheid weerspiegelt die is opgedaan door jarenlange ervaring.
STMicro-elektronica biedt een breed spectrum van siliciumoplossingen in microcontrollers, analoge en gemengde signaalcomponenten, sensoren en kracht-IC's.Deze elementen zijn de sleutel bij het creëren van geavanceerde elektronische systemen, die naadloze integratie en optimale functionaliteit bevorderen.Hun systeemoplossingen belichamen een diep begrip van hardware- en software -interacties, waardoor hun producten in verschillende omgevingen bewonderenswaardig kunnen presteren.De Portfolio van STMicroelectronics 'enorme intellectuele eigendom (IP) betekent zijn toewijding aan continue innovatie.Deze rijkdom aan patenten en eigen technologieën stelt het bedrijf in staat om unieke en up-to-date oplossingen te leveren.Door hun IP -activa strategisch te benutten, bieden ze verschillende voordelen in productontwikkeling, net als het gebruik van geaccumuleerde expertise om voortdurende innovatie te bevorderen.
De sterke productiemogelijkheden van STMicroelectronics zorgen voor consistente productkwaliteit en betrouwbaarheid.Met behulp van ultramoderne faciliteiten en strikte maatregelen voor kwaliteitscontrole voldoet elk product aan de veeleisende industriële normen.De goedkeuring van geavanceerde productietechnieken en een cultuur van continue verbetering stelt het bedrijf in staat zijn concurrentievoordeel op de halfgeleidermarkt te behouden.
De TIP42C is een op siliconen gebaseerde PNP-stroomtransistor, geprezen om zijn efficiëntie in zowel versterking- als schakeltoepassingen.De ernstige elektrische kenmerken ervan omvatten een 100V-spanningstolerantie voor zowel collector-emitter als basiscollectorterminals.De veelzijdigheid van deze transistor positioneert het als een favoriete optie in talloze elektronische circuits.
Het verzekeren van de levensduur van de TIP42C in circuits omvat het naleven van verschillende best practices geschikt thermisch beheer is ultiem.Het gebruik van een goed geschikte koellichaam kan met name oververhitting risico's verminderen.Een adequate basisweerstand is vereist voor het beheersen van de basisstroom, waardoor onnodige vermogensdissipatie wordt voorkomen.Het is verstandig om te voorkomen dat er meer dan -6a en -100V belastingslimieten worden gebruikt om elektrische stress te voorkomen, wat de integriteit van de transistor kan ondermijnen.Het handhaven van de bedrijfsomstandigheden ten minste 20% onder de maximale ratings is een verstandige aanpak.Deze buffer kan de levensduur van het onderdeel verlengen en de algehele betrouwbaarheid versterken.Praktische ervaring in elektronica toont aan dat conservatieve operationele marges zowel een lange levensduur als systeemstabiliteit bevorderen.Ook is het van vitaal belang om ervoor te zorgen dat opslag- en bedrijfstemperaturen binnen het bereik van -65 ° C tot +150 ° C blijven van het behoud van de siliciumstructuur van de transistor.
Stuur een aanvraag, we zullen onmiddellijk reageren.
Op 2024/10/18
Op 2024/10/18
Op 8000/04/18 147758
Op 2000/04/18 111938
Op 1600/04/18 111349
Op 0400/04/18 83721
Op 1970/01/1 79508
Op 1970/01/1 66914
Op 1970/01/1 63058
Op 1970/01/1 63012
Op 1970/01/1 54081
Op 1970/01/1 52131