
De LM7809 is een betrouwbare positieve spanningsregelaar IC, bekend om het bieden van een gestage 9V -output in verschillende toepassingen.Met zijn vermogen om stromingen tussen 1A en 1,5A te verwerken, vindt het wijdverbreid gebruik in velden zoals robotica en ingebedde systemen, waar consistente spanningsvoorraad ernstig is.Om optimale prestaties te bereiken, vereist de LM7809 een ingangsspanning van ten minste 11V, waarbij een minimale 2V -hoofdruimte wordt gehandhaafd om de gereguleerde output te leveren.Het ontwerpen van een juiste voeding met voldoende invoerreserve is vereist om de efficiëntie te waarborgen en onderbrekingen in de stroomstroom te voorkomen.
Met ondersteuning voor ingangsspanningen zo hoog als 35V, blijkt de LM7809 zeer aanpasbaar aan omgevingen waar spanningsschommelingen gebruikelijk zijn, zoals automobielelektronica en veldinstrumenten.Het vermogen om spanningsschikken te verwerken, verbetert de betrouwbaarheid, waardoor het een voorkeurskeuze is voor uw beheersystemen met variabele inputomstandigheden.Het beheren van warmtedissipatie wordt echter gebruikt, omdat het spanningsverschil tussen invoer en uitgang warmte genereert.Een goed thermisch ontwerp, inclusief het gebruik van geschikte koellichamen, is vereist om een efficiënte werking te garanderen en de levensduur van het apparaat te verlengen.
Ingebouwde functies zoals thermische afsluiting en kortsluitbescherming verbeteren de betrouwbaarheid van de LM7809 verder, waardoor deze onder ongunstige omstandigheden wordt beschermd.Deze beschermingen maken de regulator waardevol in zowel commerciële als educatieve contexten en bieden niet alleen betrouwbare prestaties, maar ook mogelijkheden voor hands-on leren over circuitveiligheid.Deze ingebedde waarborgen dragen bij aan de bruikbaarheid ervan in toepassingen die een hoge betrouwbaarheid en weinig onderhoudsonderhoud eisen, waardoor de rol als een veelzijdige spanningsregelaar IC wordt versterkt.

|
PIN Nr. |
Speldnaam |
Beschrijving |
|
1 |
Input (V+) |
Niet -gereguleerde ingangsspanning |
|
2 |
Grond |
Verbonden met grond |
|
3 |
Uitgang (VO) |
Uitgangen gereguleerd +9V |
|
Functie |
Details |
|
Huidig uitgangsbereik |
1A tot 1,5A |
|
Kosteneffectiviteit |
Ja |
|
Toepassing Geschiktheid |
Commerciële toepassingen |
|
Uitgangspanning |
Stabiele en consistente 9V -uitgang |
|
Maximale ingangsspanning |
35V DC |
|
Standby huidige consumptie |
Extreem laag, slechts 8 mA |
|
Minimaal vereiste ingangsspanning |
11V |
|
Maximaal toegestane ingangsspanning |
35V |
|
Voedingsafwijzingsverhouding (PSRR) |
55 dB |
|
Uitgangsspanningstolerantie |
9V ± 4% |
|
Drop-out spanning (VI-VO) |
2.0v |
|
Uitgangstype |
Vast |
|
Thermische en huidige bescherming |
Interne thermische overbelasting en kortsluitstroom
Beperkend |
|
Maximale junctietemperatuur |
125 ° C |
|
Pakkettypen |
TO-220, TO-3, KTE |
|
Type |
Parameter |
|
Nominale voedingsstroom |
5 ma |
|
Ruststroom |
8 ma |
|
Uitvoerconfiguratie |
Positief |
|
Spanningsuitval (max) |
2V @ 1A typ |
|
Eindpositie |
ENKEL |
|
Beschermingsfuncties |
Over temperatuur, kortsluiting |
|
Uitval spanning |
2V |
|
Dropout-spanning1-nom |
2V |
|
Nauwkeurigheid van de uitgangsspanning |
4% |

De gerenommeerde 7809 De spanningsregelaar is niet alleen beroemd om zijn precisie in de uitvoer, maar ook vanwege zijn onderscheidende vermogen om een buitengewoon soepele spanningsvoorraad te leveren, waardoor in dit opzicht vaak veel DC-DC-converters overtreft.Het genereren van meer warmte is echter een opmerkelijk bijproduct van dit kenmerk.Deze superieure gladheid is grotendeels te wijten aan de aanwezigheid van een serie pass -transistor bij de output, die een sleutelrol speelt bij het beteugelen van overtollige spanning.
Om de hoeveelheid gedissipeerde vermogen te onderscheiden, kan men de formule toepassen: (ingangsspanning - uitgangsspanning) x uitgangsstroom.Stel dat de ingangsspanning 12V is met een overeenkomstige uitgangsstroom van 1A.In deze situatie wordt de vermogensdissipatie berekend als 3 watt, wat suggereert dat effectieve strategieën voor thermische beheer, zoals koellichamen, raadzaam zijn.
De noodzaak voor warmtebeheer wordt duidelijk naarmate de dissipatie van de regulator 1,25 watt overtreft - de drempel waarboven extra koeling vereist is.In het circuitontwerp is het waarborgen van voldoende warmtedissipatie een ultieme taak die nuttig is om zowel prestaties als systeembetrouwbaarheid te behouden.
De 7809-spanningsregelaar speelt een ultieme rol bij het bieden van een betrouwbaar 9V-vermogen in scenario's waar de invoeromgeving kan variëren.Het behandelt efficiënt de ingangsspanningen tussen 11V en 35V, waardoor een gestage uitgangsstroom wordt gewaarborgd die meestal groter is dan 1A, met piekmogelijkheden tot 2,2A.Dit maakt het een geschikte selectie voor u die de betrouwbaarheid waarderen.
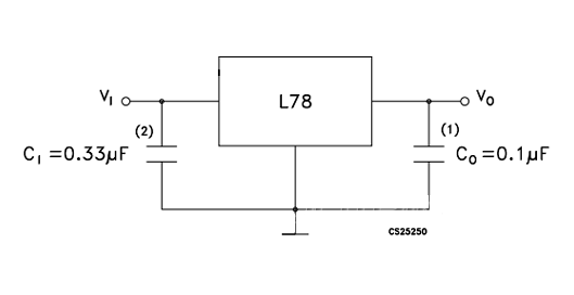
Wanneer de stroombron zich meer dan 10 inch van de installatieplaats bevindt, is het raadzaam met een ingangscondensator van 0,33UF of groter.Het kiezen van condensatoren met lage equivalente seriesweerstand (ESR) kan het energieverlies helpen verminderen.Deze configuraties spelen een opmerkelijke rol bij het stimuleren van de prestaties van de spanningsregelaar, meestal bij het handhaven van de stabiliteit te midden van verschillende omstandigheden.
7809 9V Regulator met bypass -caps

Het toevoegen van een optionele condensator van 0,1UF kan de tijdelijke respons van de 7809 aanzienlijk verbeteren.Dit leidt tot merkbare verbeteringen bij het ondervinden van schommelingen in belasting of ingangsspanning, waardoor de algehele veerkracht van het systeem wordt vergroot.Hoewel vaak wordt beoefend, is het inzichtelijk om aangepaste configuraties te verkennen die zijn afgestemd op specifieke omgevingsvereisten.

• LM7806
• LM7824
• LM7815
• LM7812
• LM317
• LM7905
• LM7912
De LM7809 wordt uitgebreid gebruikt om een consistente 9V -output te leveren, die meestal geschikt is voor microcontrollers en sensoren.Het vermogen van dit apparaat om de prestaties te handhaven, ondanks het fluctueren van ingangsspanningen ondersteunt de integriteit van gevoelige sensorgegevens en microcontroller -activiteiten, waardoor de duurzaamheid van elektronische systemen uiteindelijk wordt verbeterd.Zorgen voor efficiënte spanningsregeling wordt vaak nagestreefd in praktische toepassingen om problemen zoals gegevenscorruptie of verlies binnen microcontrollers te voorkomen.
Wanneer een precieze inkrimping van hogere spanningen naar 9V nodig is, blinkt de LM7809 uit vanwege de vaardigheid bij het minimaliseren van spanningsinconsistenties.Deze functie is vooral waardevol in scenario's waar apparaten, zoals geavanceerde thuisautomatiseringssystemen of draagbare elektronica, kwetsbaar zijn voor overspanningsdreigingen.De integratie van de LM7809 vermindert de kans op schade veroorzaakt door invoerspanningsvariaties.
Binnen voedingssystemen wordt de LM7809 erkend voor het leveren van een consistente output, nuttig voor reguliere bewerkingen.In zowel industriële omgevingen als consumentenelektronica voorkomt het stroomverstoringen die kunnen leiden tot dure dutting of gegevensmisbeheer.De ingebouwde thermische bescherming voegt een laag veerkracht toe, waardoor de LM7809 kan omgaan met tijdelijke omstandigheden die vaak in omgevingen worden aangetroffen.
Bij gebruik in opstellingen van de motorchauffeur biedt de LM7809 de stabiliteit die nodig is voor motoren om consequent te presteren.Dit kenmerk is belangrijk voor applicaties zoals robotica of precisieproductie, waarbij motoren moeten werken met aangewezen snelheden of knooppunten.Het vermogen van de regulator om spanningsschommelingen glad te maken, zorgt ervoor dat de operationele efficiëntie wordt gehandhaafd.
In batterij opladen en zonne -energiesystemen speelt de LM7809 een basisrol bij het bieden van een constante laadspanning, waardoor de levensduur van de batterij en de efficiëntie wordt verlengd.Het is meestal voordelig in zonnestelsels met variabele ingangsspanningen gedurende de dag.De integratie van de LM7809 ondersteunt een geoptimaliseerde laadcyclus onder gevarieerde inputomstandigheden.
Functionerend als een primaire stroombron voor microcontrollers, vermindert de LM7809 uitdagingen met betrekking tot vermogensgevoeligheid en consistentie.Het aanbieden van een gestage voeding wordt gebruikt in complexe opstellingen waarbij precieze stroomstabiliteit zorgt voor een naadloze werking van microprocessor-aangedreven taken.
De LM7809 is waardevol als onderdeel van instelbare regulatiefalen, waarbij verschillende spanningsniveaus nodig zijn voor verschillende fasen.Het helpt ook in situaties waarin de huidige beperkingen nodig zijn, waardoor onderling verbonden apparaten worden beschermd tegen onverwachte pieken.Door de LM7809 op te nemen, kunt u niet alleen spanningsbestendigheid, maar ook effectief huidig beheer, een overweging die afwezig is in bredere systeemontwerpen veiligstellen.
In dubbele leveringssystemen die uitvoerpolariteitsverdediging vereisen, biedt de LM7809 bescherming tegen onjuiste verbindingen.Dit aspect is vereist in ingewikkelde elektronische ontwerpen waarbij omgekeerde polariteit kan leiden tot schade aan componenten.De mogelijkheid van de LM7809 om dergelijke voorwaarden te doorstaan zonder prestaties te verliezen, introduceert grote veerkracht, wat bijdraagt aan ononderbroken systeembewerking.




De LM7809 -spanningsregelaar is een vertrouwde oplossing voor het handhaven van een gestage 9V -output, wat opmerkelijke prestaties aantoont in diverse elektronische toepassingen.Het eenvoudige ontwerp, gecombineerd met robuuste functies zoals thermische bescherming en kortsluitingsveiligheid, zorgt voor betrouwbaarheid in zowel prototyping als afgewerkte systemen.Door uitdagingen aan te gaan, zoals spanningsschommelingen en warmtedissipatie, verbetert de LM7809 de efficiëntie van apparaten en levensduur.Naarmate de technologie evolueert, blijft de LM7809 een dynamische rol spelen bij het leveren van stabiele kracht, het bevorderen van innovatie en het waarborgen van de duurzaamheid van elektronische ontwerpen voor u.
Stuur een aanvraag, we zullen onmiddellijk reageren.
De LM7809 speelt een opmerkelijke rol door een betrouwbare 9V -positieve output te leveren, waarbij gelokaliseerde spanningsreguleringsuitdagingen op de kaart worden aangepakt om de distributiecomplexiteit te verlichten.Met zijn stabiele ondersteuning verbetert het de betrouwbaarheid van de voeding en vermindert het potentiële verstoringen in elektronische circuits, waardoor een gevoel van beveiliging voor systeemintegrators wordt gebracht.
De LM7809 biedt een standvastige 9V -uitgang en kan tot 1A stroom leveren en biedt een ingangsspanningspectrum variërend van 11 tot 35V.Deze flexibiliteit bevordert zijn toepasbaarheid bij het aanpassen aan gevarieerde scenario's voor energiebeheer, waardoor het een aanwinst is voor diegenen die gericht zijn op het harmoniseren van verschillende elektronische behoeften.
Als een apparaat met drie terminal vereist de LM7809 een DC-ingangsspanning tussen 12 en 25 V. Het is raadzaam om een invoerfiltercondensator op te nemen, samen met een koellichaam om thermische managementuitdagingen aan te pakken, vooral onder omstandigheden met hoge lading.Deze praktische benadering draagt bij aan de langdurige en efficiënte prestaties van het circuit.
Een ongerepte en gestage DC -ingang voor de spanningsregelaar is vereist voor het bereiken van naadloze regelgeving en constante uitvoerprestaties.Zorgvuldige overweging van de kwaliteit van verbindingen en de strategische plaatsing van componenten kan verstoringen voorkomen, waardoor de integriteit van de elektronische configuratie wordt gehandhaafd.
Het construeren van een basisontwerp omvat vaak het koppelen van een 7805 lineaire spanningsregelaar met condensatoren om de gewenste spanningsbestendigheid te realiseren.Deze eenvoudige setups kunnen stappen zijn op het ontwikkelen van meer ingewikkelde systemen, waardoor inzichten worden onthuld in effectief energiebeheer binnen elektronische apparaten.
Op 2024/11/28
Op 2024/11/28
Op 8000/04/18 147757
Op 2000/04/18 111936
Op 1600/04/18 111349
Op 0400/04/18 83721
Op 1970/01/1 79508
Op 1970/01/1 66909
Op 1970/01/1 63045
Op 1970/01/1 63012
Op 1970/01/1 54081
Op 1970/01/1 52125