
Binnen de heerschappij van complexe programmeerbare logische apparaten (CPLD's) ontdekt men een geavanceerd tapijt van programmeerbare logische macrocellen, verweven door een dominante interconnectmatrix.Met deze macrocel (MC) en invoer/uitvoer (I/O) -eenheid kunt u u in staat om behendig ontwerpen van circuits te ontwerpen en de structuren voor unieke functies te configureren.In tegenstelling tot apparaten die perplex zijn door hun ingewikkelde interconnect timing, gebruiken CPLD's onbeweegbare metalen draden.Dit kenmerk schenkt hen een consistent en voorzienbaar klokgedrag, waardoor timingvoorspellingen betrouwbaarder en nauwkeuriger worden.
De jaren 1970 luidden de komst van programmeerbare logica -apparaten (PLD's) in, en bevorderde een beweging naar programmeerbare macro -eenheden.Deze verschuiving introduceerde voldoende ontwerpflexibiliteit en onderscheidde ze van statische digitale circuits, hoewel hun nut aanvankelijk was beperkt tot eenvoudiger circuits.De komst van CPLD's in het midden van de jaren tachtig bracht dit landschap een revolutie teweeg in de weg voor complexe circuitontwerpen.Sindsdien hebben ze zich verweven in de structuur van industrieën zoals netwerken, automotive -elektronica, CNC -bewerking en ruimtevaartsystemen.U kunt herinneren aan de manier waarop CPLD's vereenvoudigde processen die ooit zorgvuldige handarbeid eisten, een opmerkelijke sprong in efficiëntie markeren.
CPLD's onderscheiden zich door hun aanpasbare programmering, uitgebreide integratie, snelle ontwikkelingsmogelijkheden en brede toepasbaarheid, samen met economische productiekosten.Ze doen een beroep op mensen met minimale hardware -ervaring en dienen als betrouwbare en beveiligde producten die geen uitputtende testen vereisen.Als een bewijs van hun bekwaamheid in grootschalige circuitontwerpen, spelen CPLD's een sleutelrol in de ontwikkeling van prototype en dienen ze runs onder de 10.000 eenheden, die een nuttige competentie voor u belichamen.De vaardigheid waarmee CPLD's zich aanpassen aan het evolueren van projecteisen, verdient vaak waardering, en benadrukt hun werkelijke veelzijdigheid in dynamische omgevingen.
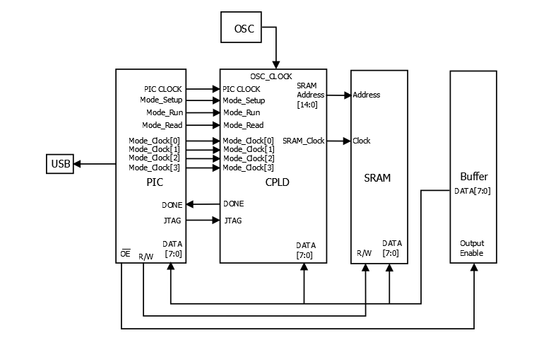
Met deze geïntegreerde circuits kunt u zich uitwerken op logische functies die zijn afgestemd op hun behoeften met behulp van zowel schema's als hardwarebeschrijving talen op ontwikkelingsplatforms.Bij het ontwerpen van een antwoordapparaat worden bijvoorbeeld schema's en hardwarebeschrijvingen op een computer voorbereid en opgesteld.Met behulp van een downloadkabel wordt de code overgedragen naar de CPLD voor programmering in system, die testen, probleemoplossing en het verbeteren van ontwerpen omvat.Succesvol vervaardigde ontwerpen worden vervolgens in massa geproduceerd door CPLD-chips te repliceren.In projecten zoals verkeerslichtsystemen wordt het herhalen van het ontwerpproces vereist, vergelijkbaar met het herbouwen van een huis om zijn nieuwheid te herstellen.Deze repetitieve methodologie legt vaak de basis voor mastering, waardoor zowel vaardigheden als vertrouwen worden vergroot.
Door de jaren heen hebben bedrijven als Altera, Lattice en Xilinx prominente lijnen van CPLD's onthuld.Opmerkelijke voorbeelden zijn Altera's EPM7128S, Lattice's LC4128Ven Xilinx's XC95108 .Deze modellen hebben prominente rollen gevonden in verschillende wereldwijde toepassingen.Degenen die het voorrecht hebben gehad om met deze verschillende producten te werken, merken vaak op over de subtiele maar krachtige verschillen die bepaalde functionaliteiten optimaliseren.Dit weerspiegelt een mooi selectieproces dat wordt beïnvloed door specifieke projecteisen, waarbij elke variant zijn unieke aantrekkingskracht heeft.
|
Aspect |
CPLD |
FPGA |
|
Logische gedragsvorming |
Vorm logisch gedrag met behulp van producttermstructuur.
Voorbeelden: rooster ISPLSI -serie, Xilinx XC9500 -serie, Altera Max7000s
serie, rooster mach -serie |
Vorm logisch gedrag met behulp van een tabelopzoekingsmethode.
Voorbeelden: Xilinx Spartan -serie, Altera Flex10K, ACEX1K -serie |
|
Geschiktheid |
Geschikt voor algoritmen en combinatielogica, werken
Beter met beperkte triggers en rijke productvoorwaarden |
Geschikt voor sequentiële logica, werkt beter met
Structuren rijk aan triggers |
|
Timingvertraging |
Continue bedradingsstructuur biedt uniforme en
voorspelbare timingvertragingen |
Gesegmenteerde bedradingsstructuur leidt tot onvoorspelbare timing
vertragingen |
|
Flexibiliteit programmeren |
Vaste interne circuits worden gewijzigd voor programmering.
Logica blokniveau programmeren wordt gebruikt |
Interne bedrading is gewijzigd voor programmeren.Logica
Programmering op poortniveau maakt een grotere flexibiliteit mogelijk |
|
Integratie |
Lagere integratie in vergelijking met FPGA |
Hogere integratie met een complexere bedradingsstructuur en
Logica -implementatie |
|
Gebruiksgemak |
Gemakkelijker te gebruiken met programmeren via E2PROM of FASTFLASH.
Er is geen externe geheugenchip vereist |
Vereist extern geheugen om programmeren op te slaan
informatie, wat leidt tot complexer gebruik |
|
Snelheid en voorspelbaarheid |
Hogere snelheid en betere voorspelbaarheid van timing vanwege
Gevulde interconnectie tussen logische blokken |
Lagere snelheid en minder voorspelbare timing vanwege
Gate-niveau programmering en gedistribueerde interconnectie |
|
Programmeertechnologie |
Gebruikt E2PROM- of Flash -geheugenprogrammering.Programmeergegevens
wordt behouden wanneer het systeem wordt uitgeschakeld.Ondersteunt programmeren op een
programmeur of in-system |
Gebaseerd op SRAM -programmering.Programmeergegevens gaan verloren wanneer
Het systeem wordt uitgeschakeld en moet opnieuw worden geladen.Ondersteunt Dynamic
configuratie |
|
Vertrouwelijkheid |
Biedt een betere vertrouwelijkheid |
Biedt een lagere vertrouwelijkheid |
|
Stroomverbruik |
Over het algemeen een hoger stroomverbruik, vooral met
Hogere integratie |
Lager stroomverbruik in vergelijking met CPLD |
Analyse van hoe complexe programmeerbare logische apparaten (CPLD's) zijn geprogrammeerd, is een hoeksteen in het maken van veelzijdige hardware -oplossingen.De historische methoden voor het programmeren van CPLD's zijn afhankelijk van ladderdiagrammen of hardwarebeschrijving talen (HDL's), waarbij Verilog HDL en VHDL overheersende keuzes zijn.De geselecteerde taal kan zowel de ontwerpstrategie als de operationele efficiëntie van implementaties vormen.
• Verilog HDL: Verilog HDL wordt gekoesterd vanwege zijn eenvoudige syntaxis en robuuste simulatiemogelijkheden, die de methodologieën weerspiegelen die worden gebruikt in digitaal logisch ontwerp.De integratie met elektronische ontwerpautomatisering (EDA) -hulpmiddelen kunt u naadloos synthese en simulatie uitvoeren.Er is waargenomen dat de C-achtige syntaxis van Verilog de toetredingsdrempel voor mensen met programmeerachtergronden verlagen, waardoor de reis van het ontwerp naar de implementatie in een breed scala van industriële sectoren wordt bespoedigd.
• VHDL: VHDL biedt een meer uitgebreide en expressieve optie voor HDL -programmering.Het is vaak de keuze voor projecten die nauwgezette documentatie en rigoureuze typecontrole, eigenschappen die worden gewaardeerd in de ruimtevaart- en defensie-industrie eisen.U kunt opmerken dat ondanks de potentiële complexiteit van VHDL in kleinere projecten, de gedisciplineerde structuur het creëren van uitzonderlijk betrouwbare ontwerpen, een noodzaak in omgevingen waar de veiligheid dominant is.
Stuur een aanvraag, we zullen onmiddellijk reageren.
Op 2024/12/29
Op 2024/12/29
Op 8000/04/18 147758
Op 2000/04/18 111956
Op 1600/04/18 111349
Op 0400/04/18 83725
Op 1970/01/1 79508
Op 1970/01/1 66922
Op 1970/01/1 63078
Op 1970/01/1 63017
Op 1970/01/1 54086
Op 1970/01/1 52153