
De ADV7401KSTZ-140 is een geavanceerde videodecoder en RGB grafische digitizer van analoge apparaten, ontworpen om verschillende videoformaten te verwerken, waaronder PAL, NTSC en SECAM, en ze om te zetten in een digitaal ITU-R BT.656-formaat.Deze chip valt op vanwege zijn vermogen om component RGB/YPRPB -videosignalen te decoderen en RGB -afbeeldingen te digitaliseren met resoluties tot 1280 × 1024 bij 75 Hz (SXGA).Het wordt gemachtigd door vier 10-bit ADC's die werken bij bemonsteringssnelheden tot 140 MHz, waardoor de video-output van hoge kwaliteit voor veeleisende toepassingen zorgt.De Adv7401-familie omvat verschillende modellen zoals de ADV7401BSTZ-110 en ADV7401BSTZ-80, die een lagere maximale ADC-bemonsteringssnelheden van respectievelijk 110 MHz en 80 MHz ondersteunen, waardoor een model kan selecteren dat een model kan selecteren dat zich aanmeldt met hun specifieke resolutie en prestatievereisten.Deze flexibiliteit maakt de ADV7401 -serie een eerste keuze die robuuste videoverwerkingsmogelijkheden vereist.
Als u uw productopstelling wilt stimuleren met krachtige video-decodering, raden we ten zeerste aan om een bulkorder bij ons te plaatsen voor de ADV7401KSTZ-140.

|
PIN Nr. |
Mnemonisch |
Type |
Functie |
|
5, 11, 17, 40, 89 |
DGND |
G |
Digitale grond. |
|
49, 50, 66 |
Agnd |
G |
Analoge grond. |
|
6, 18 |
Dvddio |
P |
Digitale I/O -voedingsspanning (3,3 V). |
|
12, 39, 90 |
Dvdd |
P |
Digitale kerntoevoerspanning (1,8 V). |
|
63 |
AVDD |
P |
Analoge voedingsspanning (3,3 V). |
|
47, 48 |
PVDD |
P |
PLL -voedingsspanning (1,8 V). |
|
51 |
FB |
I |
Fast Switch -overlay -ingang.Deze pin schakelt tussen CVB's
en RGB analoge signalen. |
|
54, 56, 58, 72, 74, 76, 53, 55, 57, 71, 73, 75 |
Ain1 tot AIN12 |
I |
Analoge video -invoerkanalen. |
|
42, 41, 28, 27, 26, 25, 23, 22, 10, 9, 8, 7, 94, 93, 92,
91 |
P2 tot P9, P12 tot P19 |
O |
Video pixel uitvoerpoort. |
|
33, 32, 31, 30, 29, 24, 14, 13 |
P22 tot P29 |
IO |
Video -invoer/uitvoerpoort. |
|
44, 43, 21, 20, 45, 34, 2, 1, 100, 97, 96, 95, 88, 87,
84, 83 |
P0 tot P1, P10 tot P11, P20 tot P21, P31 tot P40 |
I |
Video pixel invoerpoort. |
|
3 |
Inteken |
O |
Onderbreken.Deze pin kan actief zijn laag of actief hoog.
Wanneer SDP/CP -statusbits deze pin -triggers wijzigen.De reeks gebeurtenissen die
Triggers Een interrupt staat onder gebruikerscontrole. |
|
4 |
HS/CS |
O |
HS is een horizontaal synchronisatie -uitgangssignaal (SDP en
CP -modi).CS is een digitaal composiet synchronisatiesignaal (en kan zijn
geselecteerd in de CP -modus). |
|
99 |
Vs |
O |
Verticaal synchronisatie -uitgangssignaal (SDP en CP
modi). |
|
98 |
Veld/DE |
O |
Veldsynchronisatie -uitgangssignaal (alle geïnterlinieerde video
modi).Deze pin kan ook worden ingeschakeld als een gegevensinschakelingssignaal (DE) in de CP -modus
om directe verbinding toe te staan met een HDMI/DVI TX IC. |
|
81, 19 |
SDA1, SDA2 |
IO |
I²C -poort seriële gegevensinvoer/uitvoerpennen.SDA1 is de gegevens
Lijn voor de besturingspoort en SDA2 is de gegevenslijn voor de VBI Readback
haven. |
|
82, 16 |
SCLK1, SCLK2 |
I |
I²C -poort seriële klokinvoer (maximale kloksnelheid van 400 kHz).
SCLK1 is de kloklijn voor de besturingspoort en SCLK2 is de kloklijn voor
De readback -poort van de VBI -gegevens. |
|
80 |
ALSB |
I |
Deze pin selecteert het I²C -adres voor de ADV7401 -besturing
en VBI Readback -poorten.ALSB ingesteld op Logic 0 Stelt het adres in voor een schrijven naar
Besturingspoort van 0x40 en het Readback -adres voor de VBI -poort van 0x21.ALSB
ingesteld op een logica stelt het adres in voor een schrijfpoort van 0x42 en
Het terugleesadres voor de VBI -poort van 0x23. |
|
78 |
Resetten |
I |
Systeemreset ingang, actief laag.Een minimale lage reset puls
Breedte van 5 ms is vereist om het ADV7401 -circuits te resetten. |
|
36 |
LLC1 |
O |
LLC1 is een lijnvergrendelde uitvoerklok voor de pixelgegevens
(Bereik is 12,825 MHz tot 140 MHz voor ADV7401KSTZ-140; 12.825 MHz tot 110 MHz
voor Adv7401BSTZ-110;12.825 MHz tot 80 MHz voor ADV7401BSTZ-80). |
|
38 |
XTAL |
I |
Invoerpen in het 28.63636 MHz -kristal, of kan zijn
Overgedreven door een externe 3,3 V 28.63636 MHz Clock Oscillator Bron naar klokken
De adv7401. |
|
37 |
XTAL1 |
O |
Deze pin verbindt zich met het 28.63636 MHz -kristal of maakt het mogelijk
gebruik van een verbinding met een 3,3 V 28.63636 MHz Clock -oscillator om te worden gebruikt als een
klok voor de ADV7401.In de kristalmodus moet het kristal fundamenteel zijn. |
|
46 |
ELPF |
O |
Het aanbevolen externe lusfilter moet worden aangesloten
Deze ELPF -pin. |
|
70 |
Test0 |
NC |
Deze pin moet niet worden verbonden of alternatief gebonden
naar agnd. |
|
59 |
Test1 |
O |
Deze pin moet niet worden verbonden. |
|
15 |
SFL/SYNC_OUT |
O |
Subdrager frequentievergrendeling (SFL).Deze pin bevat een
seriële uitgangsstroom die kan worden gebruikt om de subcode -frequentie te vergrendelen wanneer
Deze decoder is aangesloten op alle digitale video -video -encoder van analoge apparaten.
Sync_out is het gesneden synchronisatie -uitgangssignaal dat alleen beschikbaar is in de CP -modus. |
|
64 |
Afwijzing |
O |
Interne spanningsreferentie -uitgang. |
|
65 |
CML |
O |
Common-mode niveau pin (CML) voor de interne ADC's. |
|
61, 62 |
Capy1, capy2 |
I |
ADC -condensatornetwerk. |
|
68, 69 |
CAPC1, CAPC2 |
I |
ADC -condensatornetwerk. |
|
67 |
VOOROORDEEL |
O |
Externe bias -instellingspen.Verbind de aanbevolen
Weerstand (1,35 kΩ) tussen pin en grond. |
|
86 |
Hs_in/cs_in |
I |
Kan worden geconfigureerd in de CP -modus om een digitale HS te zijn
ingangssignaal of een digitaal CS-ingangssignaal dat wordt gebruikt om timing in een 5-draads te extraheren
of 4-draads RGB-modus. |
|
85 |
VS_IN |
I |
Versus invoersignaal.Gebruikt in de CP-modus voor de 5-draads timingmodus. |
|
79 |
De_in |
I |
Gegevens maken invoersignaal mogelijk.Gebruikt in 24-bit digitale input
Poortmodus (bijvoorbeeld het verwerken van 24-bit RGB-gegevens van een DVI RX IC). |
|
35 |
Dclk_in |
I |
Klokinvoersignaal.Gebruikt in 24-bit digitale invoermodus
(bijvoorbeeld 24-bit RGB-gegevens verwerken van een DVI RX IC) en ook in
Digitale CVBS -invoermodus. |
|
52 |
Zakken |
I |
Synchroniseren op groene invoer.Gebruikt in ingebedde synchronisatie -modus. |
|
77 |
Soja |
I |
Synchroniseren op LUMA -invoer.Gebruikt in ingebedde synchronisatie -modus. |
• Snelle analoog naar digitale conversie: De ADV7401KSTZ-140 is uitgerust met vier 10-bit analoge-naar-digitale converters (ADC's) die kunnen werken met bemonsteringssnelheden tot 140 MHz.Met deze mogelijkheid kan het videosignalen met hoge resolutie effectief digitaliseren, waardoor het geschikt is voor geavanceerde video-verwerkingstoepassingen.
• Veelzijdige analoge invoer multiplexer: Dit apparaat beschikt over een 12-kanaals analoge invoer multiplexer met SCART-snelle ondersteuning.Deze functionaliteit maakt het mogelijk om naadloos te schakelen tussen verschillende analoge video -bronnen, waardoor diverse invoervereisten voor videosystemen worden aangeboden.
• Uitgebreide video -standaardondersteuning: De ADV7401KSTZ-140 ondersteunt een breed scala aan videogleurstandaarden, waaronder NTSC, PAL en SECAM.Het kan ook video -formaten van componenten verwerken, zoals 525p, 625p, 720p en 1080i, waardoor compatibiliteit met verschillende globale videoformaten en resoluties wordt gewaarborgd.
• Grafische digitalisering: In staat om RGB-grafische afbeeldingen te digitaliseren tot resoluties van 1280 × 1024 bij 75 Hz (SXGA), is de ADV7401KSTZ-140 ideaal voor toepassingen die grafische verwerking met hoge resolutie vereisen, zoals geavanceerde surveillancesystemen en digitale signage.
• Geavanceerde conversie van kleurruimte: Het apparaat bevat een 3 × 3-conversiematrix van kleurruimte die de flexibele conversie tussen verschillende kleurruimtes, zoals YCRCB naar RGB en vice versa, vergemakkelijkt.Deze functie is geweldig voor het handhaven van de kleurnauwkeurigheid en kwaliteit in multimediatoepassingen.
• Digitale invoerpoort: De ADV7401KSTZ-140 bevat een 24-bit digitale invoerpoort die gegevens van DVI/HDMI-ontvanger ICS ondersteunt.Deze functie verbetert de compatibiliteit van de chip met moderne digitale video -bronnen, waardoor deze kan worden geïntegreerd in een breed scala aan digitale multimediasystemen.
• Programmeerbare uitvoerinterfaces : Het biedt een programmeerbare uitvoerinterface die kan worden ingesteld op 12-bit 4: 4: 4 of 8-bit 4: 2: 2 dubbele gegevenssnelheid (DDR) pixeluitvoerindelingen.Deze flexibiliteit zorgt ervoor dat de uitvoer kan worden aangepast om aan specifieke applicatiebehoeften te voldoen, hetzij voor uitzendapparatuur of elektronica.

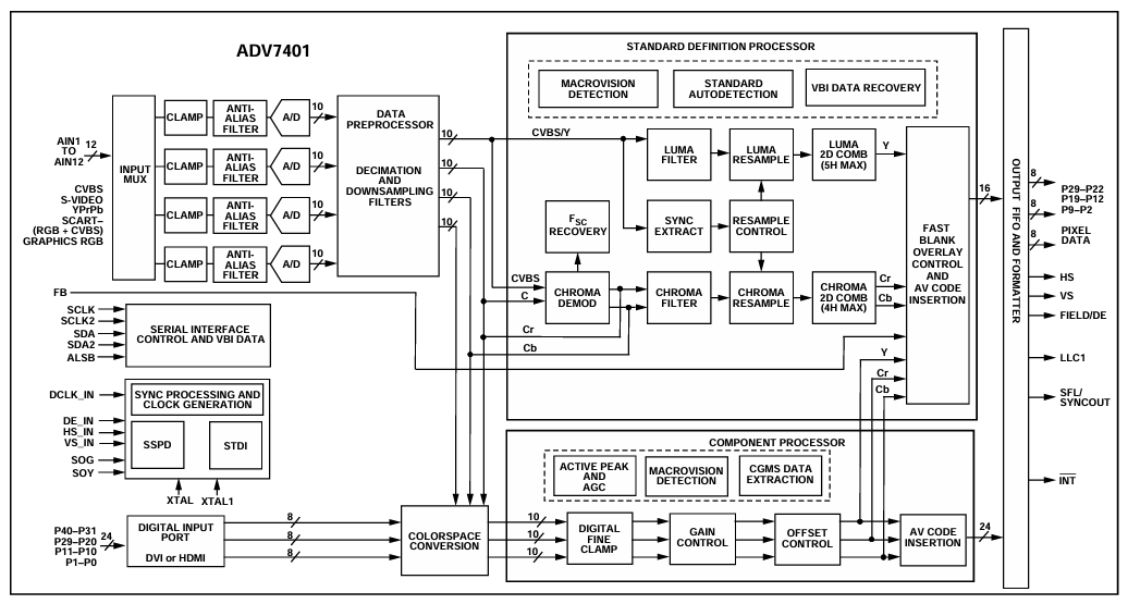
Het diagram van de ADV7401KSTZ-140 Illustreert de interne functionele blokken van deze geavanceerde videodecoder en digitizer, en benadrukt hoe het verschillende analoge videosignalen in digitale uitvoer verwerkt.De chip ondersteunt meerdere invoerindelingen zoals CVBS,, S-Video,, YPBPR, En RGB, allemaal door de invoer MUX gerouteerd die selecteert tussen de 12 analoge ingangen (AIN1 naar AIN12).Elk geselecteerd signaal gaat door een Klem En Anti-alias filter om het signaal voor te bereiden op digitalisering door een van de geïntegreerde 10-bit analoog-naar-digitale converters (A/D).
Eenmaal gedigitaliseerd, worden signalen verwerkt in de Data preprocessordat omvat Decimering En Downsampling filters Om de gegevenssnelheden te verlagen en signalen voor te bereiden voor verdere digitale verwerking.Afhankelijk van het type invoer kan de video worden verwerkt via de Standaarddefinitie processor of de Componentprocessor.De SD Verwerker behandelt composiet- en S-Video-signalen, het uitvoeren van taken zoals Chroma -demodulatie,, Luma en Chroma -filtering,, Kamfiltering, En Herbevestiging, ervoor zorgen dat een duidelijke scheiding van componenten van luminantie en chrominantie.Het bevat ook functies zoals Macrovisie -detectie En VBI -gegevensherstel.
Voor componentvideo, de Componentprocessor is verantwoordelijk voor operaties zoals Controle krijgen,, Compensatiecorrectie, En Actieve piek En AGC aanpassingen.Het omvat CGMS En Macrovisie Gegevensdetectie voor naleving van kopiebescherming.Bovendien is er Kleurruimte conversie om zich aan te passen YCBCR of RGB signalen naar het vereiste uitvoerformaat.Alle bewerkte signalen komen samen in de Output FIFO En Formatter, waar ze worden uitgelijnd, opgemaakt en gesynchroniseerd voordat ze worden uitgevoerd als digitale pixelgegevens samen met synchronisatiesignalen zoals zoals HS,, Vs,, Veld/DE, en anderen.Het diagram toont ook ondersteuning voor DVI of HDMI Input via een 8-bit digitale poort en ingebed Serie- Interfacebesturing voor communicatie en configuratie.
|
Type |
Parameter |
|
Fabrikant |
Analog Devices Inc. |
|
Verpakking |
Dienblad |
|
Onderdeelstatus |
Actief |
|
Functie |
Decoder, digitizer |
|
Toepassingen |
Consumentenvideo |
|
Normen |
ITU-R BT.656, NTSC, PAL, SECAM |
|
Besturingsinterface |
Serie- |
|
Spanning - levering |
1.65V ~ 3.6V |
|
Montagetype |
Oppervlaktemontage |
|
Pakket / kast |
100-lqfp |
|
Leverancierapparaatpakket |
100-lqfp (14x14) |
|
Base Productnummer |
Adv7401 |
High-Definition Televisions (HDTVS)
De ADV7401KSTZ-140 wordt gebruikt in verschillende soorten HDTV's, waaronder LCD-, DLP ™-, Plasma- en CRT-modellen, om een breed scala aan videosignalen te decoderen en te verwerken.Het vermogen om meerdere uitzendnormen en formaten aan te kunnen, maakt het een belangrijk onderdeel om te zorgen voor brede compatibiliteit en hoogwaardige video-output in televisietechnologie.
Projectoren
Deze videoge -decoder is integraal in zowel LCD- als DLP -projectoren, waar het de mogelijkheden voor het verwerking van videoproblemen verbetert.Het stelt projectoren in staat om nauwkeurig inhoud met hoge resolutie te geven, waardoor het ideaal is voor zowel thuisbioscoopopstellingen als professionele presentatieomgevingen.
Settopboxen (STBS) met persoonlijke videorecorder (PVR)
In settopboxen vergemakkelijkt de ADV7401KSTZ-140 de decodering van verschillende videoformaten, om inhoud uit verschillende bronnen te bekijken en op te nemen.Deze functie ondersteunt de functionaliteit van persoonlijke video -recorders, flexibele weergave- en opname -opties.
Audio-Video-ontvangers (AVRS)
De chip verbetert de ontvangers van de audio-video door robuuste videocompaciteiten te integreren met audiobestrijding.Deze integratie is goed voor AVR's die worden gebruikt in Home Entertainment Systems, en biedt een naadloze audio- en video -ervaring in één apparaat.
Multiformat scan converters
De ADV7401KSTZ-140 wordt gebruikt in multiformat-scanconverters om te helpen bij het converteren van videosignalen tussen verschillende formaten en resoluties.Deze applicatie is geweldig om te zorgen voor compatibiliteit en het onderhouden van videokwaliteit in verschillende weergavetechnologieën en normen.
DVD -recorders met progressieve scaninvoerondersteuning
In dvd-recorders speelt de ADV7401KSTZ-140 een rol door inkomende videosignalen te decoderen en te digitaliseren, ter ondersteuning van progressieve scaninvoer.Met deze mogelijkheid kunnen dvd-recorders video-inhoud van hoge kwaliteit vastleggen en opslaan, waardoor de algehele opnamekwaliteit wordt verbeterd.
1. Selecteer de juiste primaire modus (prim_mode) en video -standaard (VID_STD): De primaire modus- en video-standaardselectie is belangrijk omdat deze bepaalt hoe de ADV7401KSTZ-140 het inkomende videosignaal interpreteert.Het Prim_Mode -register identificeert het primaire formaat van de video -invoer (bijv. NTSC, PAL), terwijl het VID_STD -register de standaarddetails aangeeft (bijv. 525i, 625i).Het instellen van deze registers zorgt ervoor dat de videodecoder de specifieke kenmerken van het ingangssignaal kan verwerken, zoals framesnelheid en resolutie.
2. Configureer de Latch Clock (latch_clk): De Latch Clock -instelling is belangrijk voor het synchroniseren van de verwerking van videogegevens.Door het LATCH_CLK -register te programmeren, past u de timing van de gegevensvergrendeling aan om overeen te komen met de pixelklokfrequentie van de invoervideo.Deze stap is belangrijk om ervoor te zorgen dat de videodecoder elke pixel op het juiste moment correct vastlegt en verwerkt, waardoor timingproblemen of datacorruptie worden vermeden.
3. Stel de PLL -scheidingsverhouding in: Deze stap omvat het handmatig instellen van de PLL-verhouding (fase-locked lus) verdeling voor het genereren van de juiste pixelklokuitgang uit een gegeven ingangsfrequentie.Door handmatige besturingselement (PLL_DIV_MAN_EN) in te schakelen en de PLL_DIV_RATIO te programmeren, kunt u de uitgangspixelklok verfijnen die overeenkomt met de specifieke behoeften van uw display of verder verwerkingssysteem.Deze precieze controle is goed voor het handhaven van signaalintegriteit en synchronisatie in uw videoverwerkingsketen.
4. Configureer de instellingen van het VCO -bereik en PLL -oplaadpomp: Instellen van de VCO (spanningsgestuurde oscillator) -bereik en het aanpassen van de PLL-laadpomp zijn belangrijk voor het stabiliseren van de frequentie van de gegenereerde pixelklok.Met de VCO_Range- en PLL_QPump -registers kunt u de prestaties van de PLL onder verschillende bedrijfsomstandigheden optimaliseren, zodat de uitvoerklok stabiel blijft en binnen de nodige specificaties voor betrouwbare videocecodering blijft.
5. Stel de spree-run lijnlengte in (fr_ll): In situaties waarin video-invoer verloren gaat of onderbroken is, helpt de instelling van de vrije lijn lijnlengte een consistente uitvoer te behouden door de lijnlengte in de vrije run-modus op te geven.Door het FR_LL-register te berekenen en in te stellen op basis van de verwachte lijnperiode, kan de ADV7401KSTZ-140 videoframes doorgaan met de juiste timing, wat goed is voor toepassingen die een constante video-aanwezigheid vereisen.
Veelzijdige formaat compatibiliteit
De ADV7401KSTZ-140 onderscheidt zich voor zijn vermogen om een breed scala aan videodormen te ondersteunen, waaronder NTSC-, PAL-, SECAM- en high-definition-formaten zoals 720p en 1080i.Het kan RGB -afbeeldingen verwerken tot SXGA -resolutie.Deze brede compatibiliteit maakt het mogelijk om de chip in diverse toepassingen te gebruiken zonder zich zorgen te maken over formaatbeperkingen.
Hoogwaardige videoverwerking
Uitgerust met vier 10-bit ADC's die maximaal 140 MHz kunnen proeven, zorgt de ADV7401KSTZ-140 voor hoogwaardige videoverwerking.Met deze mogelijkheid kan het videosignalen vastleggen en converteren met verbeterde duidelijkheid en kleurnauwkeurigheid, waardoor de superieure video -reproductie wordt geleverd.Dit is gunstig in toepassingen waar videokwaliteit belangrijk is, zoals in medische beeldvorming, high-definition uitzendingen en beveiligingsbewakingssystemen.
Vereenvoudigd systeemontwerp
Door zowel video-decodering als RGB-grafische digitaliseringsfunctionaliteiten te integreren in een enkele chip, vereenvoudigt de ADV7401KSTZ-140 het algemene systeemontwerp.Deze integratie vermindert het aantal componenten dat nodig is in de ontwerpfase, wat leidt tot kostenbesparingen in termen van zowel materialen als assemblage.Het verbetert ook de betrouwbaarheid van het systeem als gevolg van minder interconnecties en potentiële faalpunten, waardoor het een efficiënte oplossing is voor complexe multimediasystemen.
Flexibele uitvoeropties
Het apparaat biedt flexibele uitvoerinterfaces, in staat om zowel 12-bit 4: 4 en 8-bit 4: 2: 2 dubbele gegevenssnelheid (DDR) pixelindelingen te ondersteunen.Deze flexibiliteit maakt het mogelijk om het uitvoerformaat aan te passen op basis van hun specifieke toepassingsvereisten, of ze nu een hoge kleuren nodig hebben voor digitale signage of geoptimaliseerde pixelindelingen voor video -interfaces.Dit aanpassingsvermogen zorgt ervoor dat de ADV7401KSTZ-140 effectief kan worden gebruikt in verschillende eindgebruiken.
Betrouwbare prestaties in verschillende omstandigheden
Ontworpen om te werken binnen een industrieel temperatuurbereik van -40 ° C tot +85 ° C, is de ADV7401KSTZ-140 gebouwd om betrouwbaar te presteren in een breed scala aan omgevingscondities.Deze robuustheid maakt het geschikt voor gebruik in buitentoepassingen, industriële omgevingen en andere scenario's waarbij temperatuurschommelingen een zorg zijn.U kunt op het apparaat vertrouwen om consistente prestaties te behouden, ongeacht de thermische uitdagingen die zich kunnen voordoen in operationele omgevingen.
|
Parameter |
Dimensie (mm) |
|
Lichaamsgrootte (typisch) |
14.00 × 14.00 |
|
Lichaamsgrootte (min - max) |
13.80 - 14.20 |
|
Totale loodspanne (min - max) |
15.80 - 16.20 |
|
Pakkethoogte (maximaal) |
1.6 |
|
Lichaamshoogte (min - max) |
1.35 - 1,45 |
|
Loodbreedte (min - max) |
0,17 - 0,27 |
|
Lead Pitch (basisafstand) |
0,5 |
|
Lead afstand van de hoogte |
0,05 - 0,15 |
|
Leadhoekbereik |
0 ° - 7 ° |
|
Lead Coplanarity (maximaal) |
0,08 |

De ADV7401KSTZ-140 is een geavanceerde multiformat-videodecoder en grafische digitizer die wordt vervaardigd door Analog Devices Inc., een gerenommeerde leider in de halfgeleiderindustrie.Bekend om hun innovatie en betrouwbaarheid, is analoge apparaten gespecialiseerd in de ontwikkeling en productie van een breed scala aan geïntegreerde circuits voor signaalverwerkingstoepassingen.De expertise van het bedrijf zorgt ervoor dat de ADV7401KSTZ-140 in staat is om krachtige videodecodering te leveren, ter ondersteuning van een verscheidenheid aan videoformaten en normen voor multimediatoepassingen.
De ADV7401KSTZ-140 valt op als een robuuste en flexibele oplossing voor het veeleisen van de verwerkingstaken van videosignaalsignaal.Met ondersteuning voor meerdere wereldwijde videodormen, RGB-digitalisering met hoge resolutie, programmeerbare uitvoerformaten en werking over industriële temperatuurbereiken, levert het betrouwbaarheid en prestaties in zowel consumenten- als professionele omgevingen.Of het nu gaat om het verbeteren van multimedia -systemen, het vereenvoudigen van de ontwerparchitectuur of het waarborgen van compatibiliteit in verschillende formaten, deze decoder/digitizer biedt voordelen.De ADV7401KSTZ-140 blijft een veelzijdige en toekomstige component voor geïntegreerde videotoepassingen.
Stuur een aanvraag, we zullen onmiddellijk reageren.
De ADV7401KSTZ-140 onderscheidt zich met zijn combinatie van 4 snelle 10-bit ADC's die werken tot 140 MHz, ondersteuning voor SXGA-resoluties en het vermogen om zowel video- als RGB-grafische signalen te verwerken.Het integreert ook geavanceerde conversie van kleurruimte, macrovisie-detectie en flexibele uitvoerinterfaces, waardoor het ideaal is voor toepassingen die zowel kwaliteit als aanpassingsvermogen nodig hebben.
Niet direct.De ADV7401KSTZ-140 heeft geen native HDMI-ontvanger, maar kan digitale ingangen accepteren via zijn 24-bit digitale invoerpoort van een externe HDMI- of DVI-ontvanger IC, zoals de analoge apparaten ADV7611.Hiermee kunt u HDMI -bronnen in uw systeem overbruggen met behulp van deze chip effectief.
Er is geen extra geheugen vereist voor basisdecoderingstaken, maar afhankelijk van uw systeemarchitectuur kan een microcontroller of hostprocessor nodig zijn om de chip te configureren via I²C en verwerkte videogegevens te verwerken.In hoogwaardige systemen wordt het vaak gekoppeld aan FPGAS of DSP's voor verdere verwerking.
Hoewel de exacte waarde afhangt van uw configuratie en gebruik van de ADC's en uitvoerpoorten, varieert de typische vermogensdissipatie tussen 0,8 W en 1,2 W onder volledige belasting.Raadpleeg altijd naar de richtlijnen van het gegevensblad en de thermische ontwerpprogramma's om de juiste warmtedissipatie te garanderen.
Ja.De ADV7401KSTZ-140 ondersteunt automatische video-standaarddetectie in NTSC-, PAL- en SECAM-ingangen.Door het gebruik van de automatische detectie-registers, kan uw systeem dynamisch schakelen tussen formaten zonder gebruikersinterventie, ideaal voor multiformat-omgevingen.
Op 2025/04/3
Op 2025/04/3
Op 8000/04/18 147760
Op 2000/04/18 111979
Op 1600/04/18 111351
Op 0400/04/18 83743
Op 1970/01/1 79529
Op 1970/01/1 66943
Op 1970/01/1 63086
Op 1970/01/1 63025
Op 1970/01/1 54092
Op 1970/01/1 52167